EasyManua.ls Logo

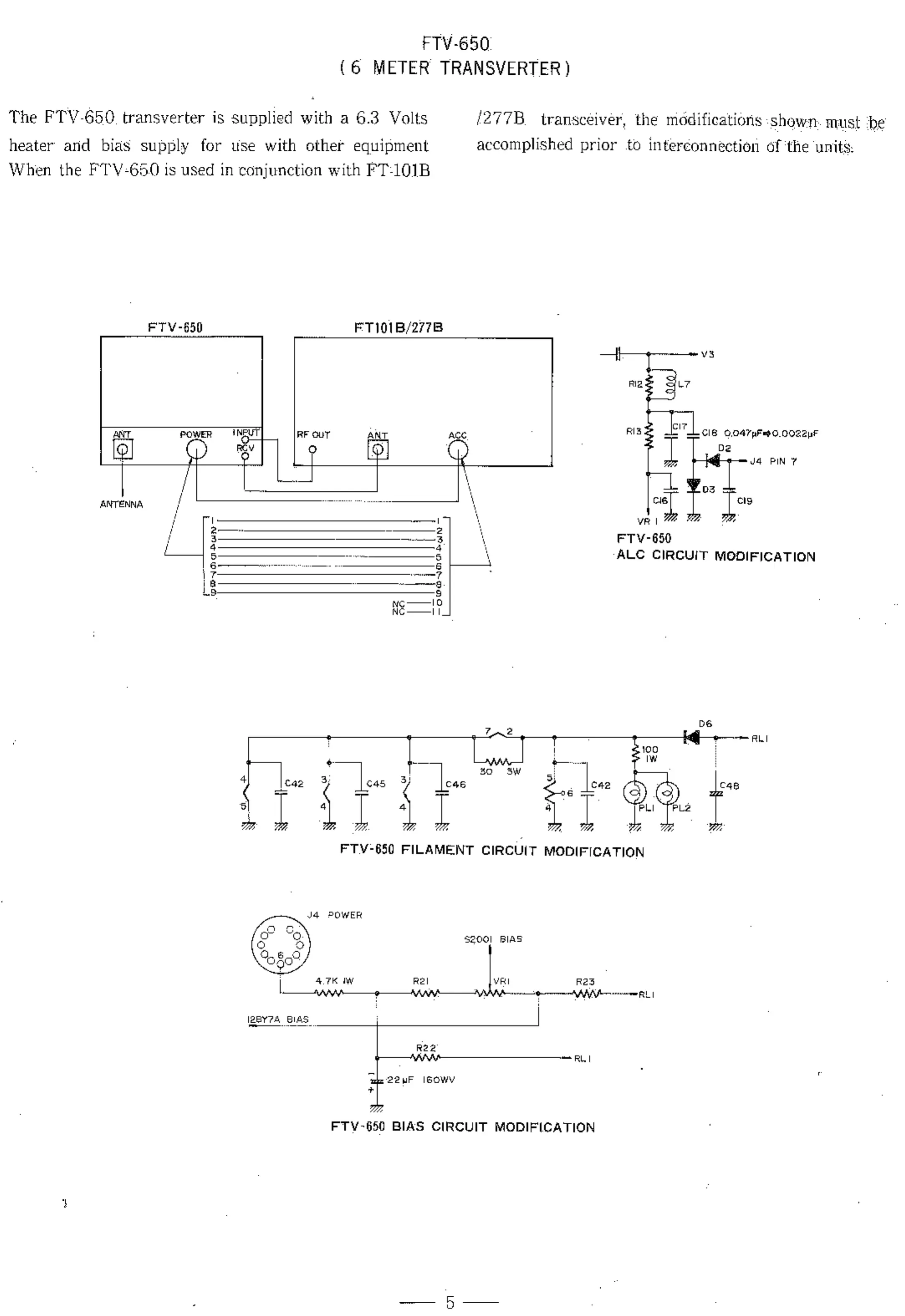
Yaesu FT-101B - FTV-650 TRANSVERTER MODULE; Modifications for Interconnection

Yaesu FT-101B
44 pages
Print Icon
To Next Page IconTo Next Page
To Next Page IconTo Next Page
To Previous Page IconTo Previous Page
To Previous Page IconTo Previous Page
Loading...

Table of Contents

Other manuals for Yaesu FT-101B

Related product manuals