EasyManua.ls Logo

Yamaha FZ6 - Gear Shifting Procedures

Yamaha FZ6
108 pages
Print Icon
To Next Page IconTo Next Page
To Next Page IconTo Next Page
To Previous Page IconTo Previous Page
To Previous Page IconTo Previous Page
Loading...
OPERATION AND IMPORTANT RIDING POINTS
5-2
5
CAUTION:
ECA15490
If the oil level warning light flick-
ers or remains on after starting,
immediately stop the engine,
and then check the engine oil
level and the vehicle for oil leak-
age. If necessary, add engine
oil, and then check the warning
light again.
If the coolant temperature warn-
ing light flickers or remains on
after starting, immediately stop
the engine, and then check the
coolant level and the vehicle for
coolant leakage. If necessary,
add coolant, and then check the
warning light again.
If the engine trouble warning
light flashes or remains on after
starting, immediately stop the
engine, and have a Yamaha
dealer check the cause.
CAUTION:
ECA11130
For maximum engine life, always
warm the engine up before starting
off. Never accelerate hard when the
engine is cold!
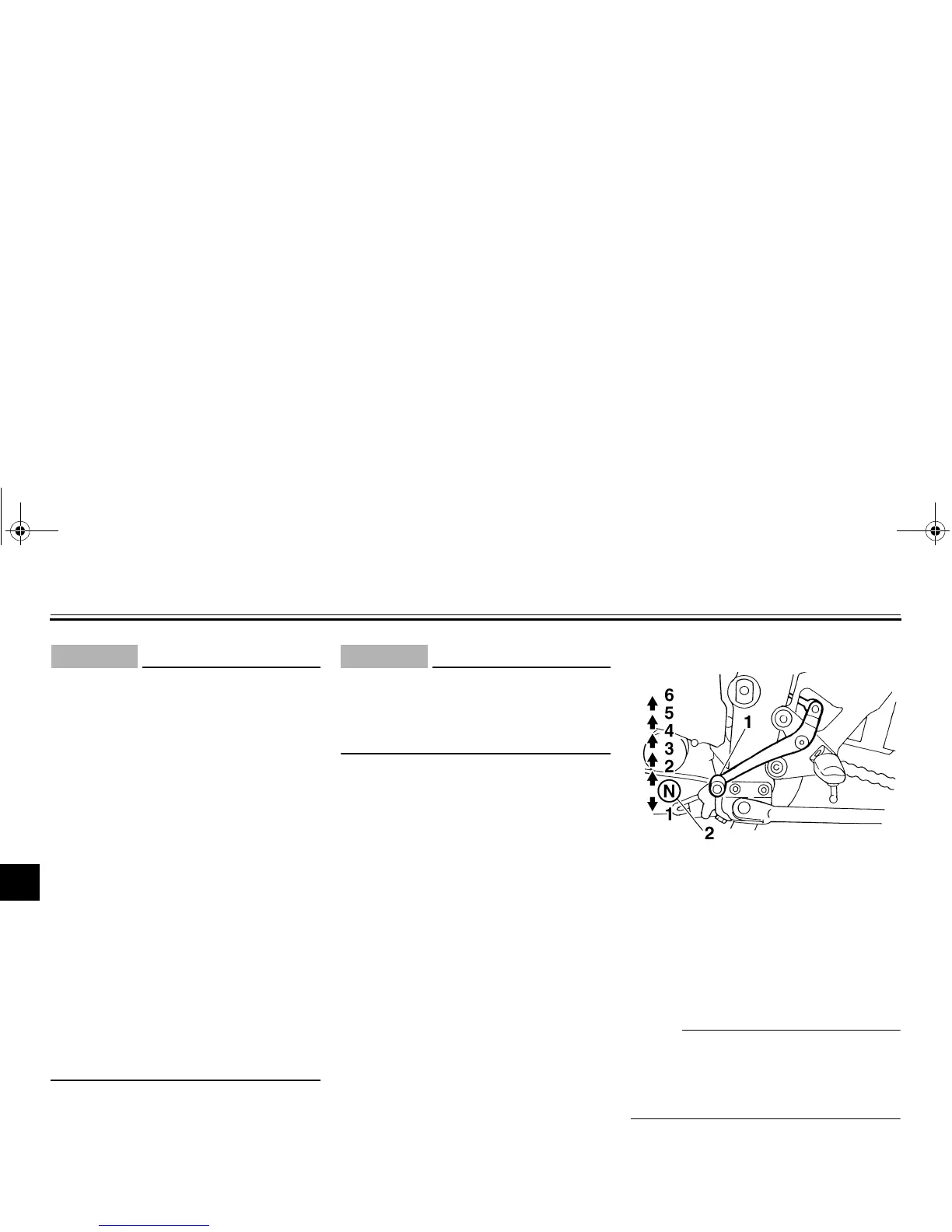
EAU16671
Shifting
Shifting gears lets you control the
amount of engine power available for
starting off, accelerating, climbing hills,
etc.
The gear positions are shown in the il-
lustration.
NOTE:
To shift the transmission into the neu-
tral position, press the shift pedal down
repeatedly until it reaches the end of its
travel, and then slightly raise it.
1. Shift pedal
2. Neutral position
U4S811E0.book Page 2 Wednesday, August 8, 2007 1:14 PM

Table of Contents

Related product manuals