EasyManua.ls Logo

Yamaha FZ6 - Troubleshooting Charts

Yamaha FZ6
108 pages
Print Icon
To Next Page IconTo Next Page
To Next Page IconTo Next Page
To Previous Page IconTo Previous Page
To Previous Page IconTo Previous Page
Loading...
PERIODIC MAINTENANCE AND MINOR REPAIR
6-43
6
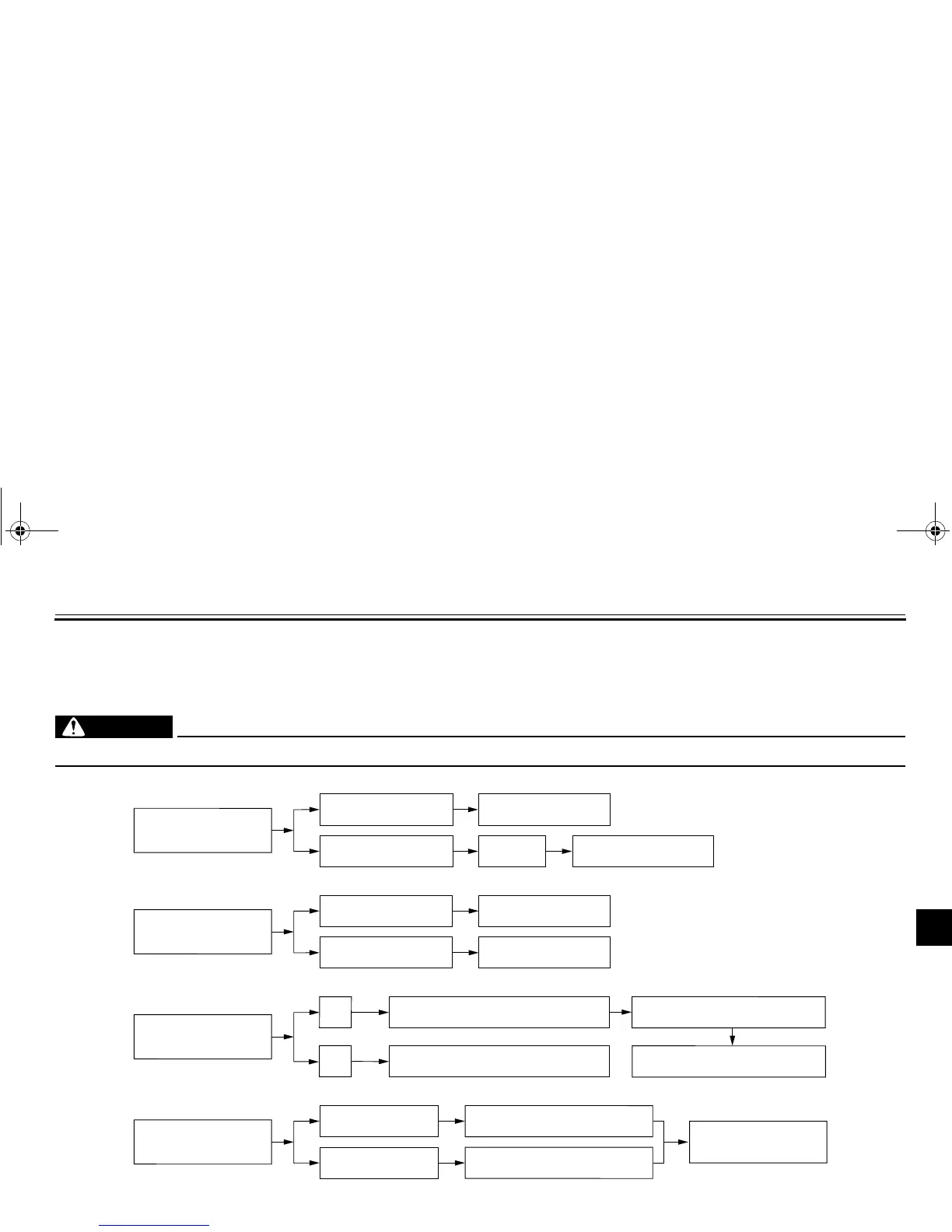
EAU42360
Troubleshooting charts
Starting problems or poor engine performance
WARNING
EWA10840
Keep away open flames and do not smoke while checking or working on the fuel system.
Check the fuel level in
the fuel tank.
1. Fuel
There is enough fuel.
There is no fuel.
Check the compression.
Supply fuel.
The engine does not start.
Check the compression.
Operate the electric starter.
2. Compression
There is compression.
There is no compression.
Check the ignition.
Have a Yamaha dealer
check the vehicle.
Remove the spark plugs
and check the electrodes.
3. Ignition
Wipe off with a dry cloth and correct the
spark plug gaps, or replace the spark plugs.
Have a Yamaha dealer check the vehicle.
The engine does not start.
Have a Yamaha dealer
check the vehicle.
The engine does not start.
Check the battery.
Operate the electric starter.
4. Battery
The engine turns over
quickly.
The engine turns over
slowly.
The battery is good.
Check the battery lead connections,
and charge the battery if necessary.
Dry
Wet
Operate the electric starter.
U4S811E0.book Page 43 Wednesday, August 8, 2007 1:14 PM

Table of Contents

Related product manuals