EasyManua.ls Logo

Yamaha NS-SW310 - Speaker Placement Guidelines

Yamaha NS-SW310
22 pages
Print Icon
To Next Page IconTo Next Page
To Next Page IconTo Next Page
To Previous Page IconTo Previous Page
To Previous Page IconTo Previous Page
Loading...
English
3 En
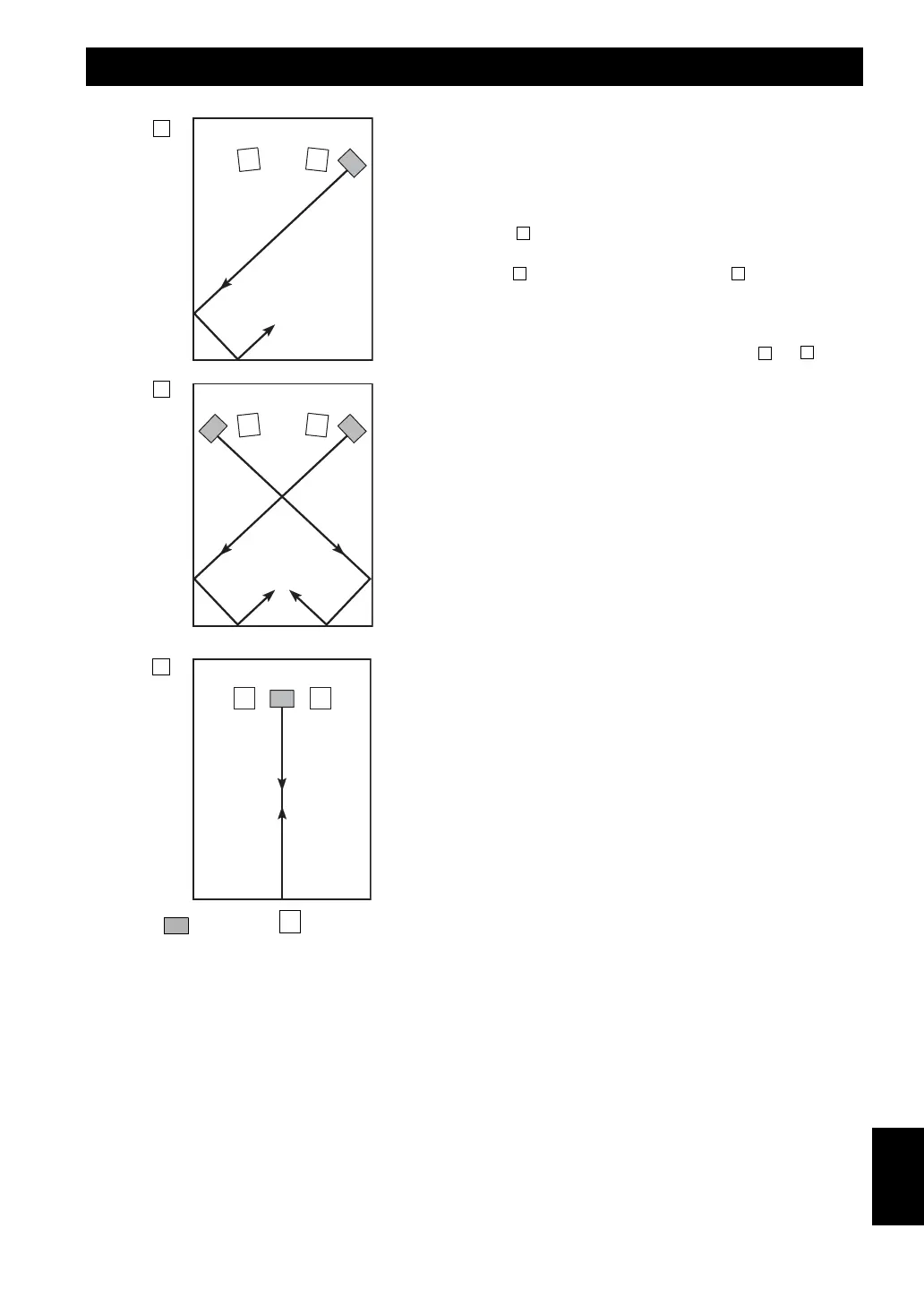
One subwoofer will have a good effect on your audio
system, however, the use of two subwoofers is
recommended to obtain more effect.
If using one subwoofer, it is recommended to place it on
the outside of either the right or the left front speaker. (See
fig. .) If using two subwoofers, it is recommended to
place them on the outside of each front speaker. (See
fig. .) The placement shown in fig. is also possible,
however, if the subwoofer is placed directly facing the
wall, the bass effect may suffer due to cancellation of direct
and reflected sounds. To prevent this from happening,
place the subwoofer at an angle, as in fig. or .
Note
There may be a case that you cannot obtain enough
super-bass sounds from the subwoofer when listening
in the center of the room. This is because “standing
waves” have developed between two parallel walls and
cancel the bass sounds.
In such a case, place the subwoofer at an oblique angle
to the wall. It also may be necessary to break up the
parallel surfaces by placing bookshelves, etc. along the
walls.
PLACEMENT
A
B
C
( : subwoofer, : front speaker)
A
B C
A
B

Related product manuals