EasyManua.ls Logo

Yanmar 4JH3BE - 3-8 Operation Specifications Check

Yanmar 4JH3BE
284 pages
Print Icon
To Next Page IconTo Next Page
To Next Page IconTo Next Page
To Previous Page IconTo Previous Page
To Previous Page IconTo Previous Page
Loading...
Chapter 9 Electrical
System
_3._St_a_r_te_r_Mi_o_to_r
___________________________
3,4JH3(B)(C)E
3-8. Operation Specifications Check
Please follow the directions
in
Performing a no-load test,
since to a certain extent, it provides
an
easy way
to
confirm the specifications.
Note : The rating
is
30
seconds, so please perform the
test expeditiously.
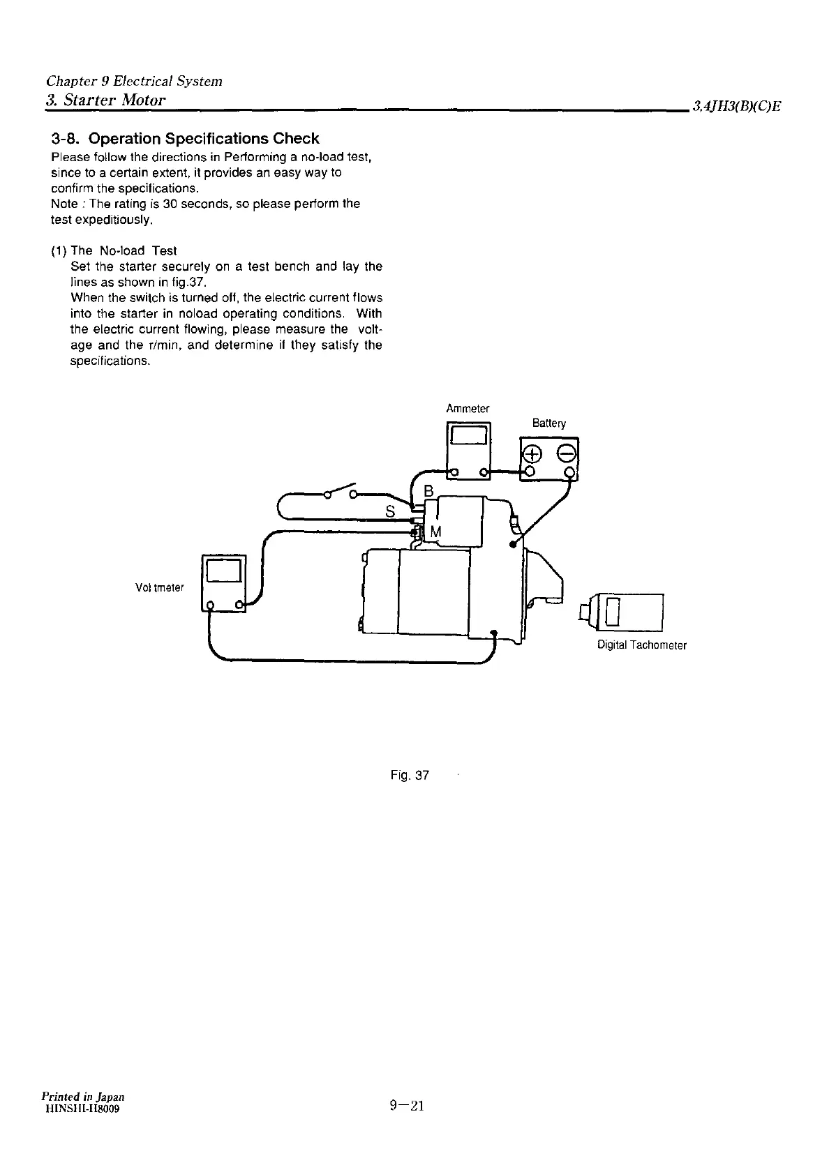
(1) The No-load Test
Set the starter securely
on
a test bench and lay the
lines
as
shown
in
fig.37.
When the switch
is
turned off, the electric current flows
into the starter
in
noload operating conditions. With
the electric current flowing, please measure the volt-
age and the r/min, and determine
if
they satisfy the
specifications.
Printed in Japan
HlNSHI-H8009
Vo!tme1er
D
Ammeter
CJ
Battery
s
r[JO
Digital
Tachometer
Fig.
37
9-21

Table of Contents