EasyManua.ls Logo

YOKOGAWA ProSafe-RS - Page 75

YOKOGAWA ProSafe-RS
207 pages
Print Icon
To Next Page IconTo Next Page
To Next Page IconTo Next Page
To Previous Page IconTo Previous Page
To Previous Page IconTo Previous Page
Loading...
2. Transportation, Storage and Installation
2-17
TI 32P01J10-01EN
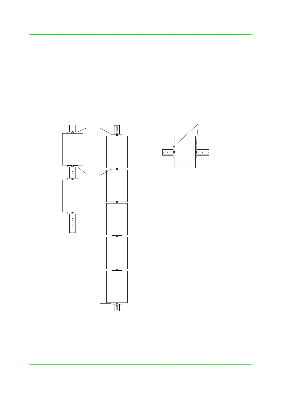
Mounting
When mounting S2BN1D I/O Units vertically on the DIN rail, insert stoppers on top and
bottom of each unit. When those I/O units are mounted close by, only one stopper in
between two I/O units will do. Another stopper is required for the I/O unit mounted on the
top shelf.
When mounting the units horizontally on the DIN rail, insert stoppers on both sides of the
unit.
F020526E.ai
stopper
stopper
stopper
Mounting the units
close to each other
Mounting the units spaced
apart from each other
Baseplate:
S2BN1D-0
Node Interface Unit:
S2NN30D-0
Unit
Unit
Unit
Unit
Unit
Unit
stopper
Figure Mounting stopper to the DIN rail
Mar. 15, 2018-00

Other manuals for YOKOGAWA ProSafe-RS

Related product manuals