EasyManua.ls Logo

Zodiac eXPERT - Page 34

Zodiac eXPERT
43 pages
Print Icon
To Next Page IconTo Next Page
To Next Page IconTo Next Page
To Previous Page IconTo Previous Page
To Previous Page IconTo Previous Page
Loading...
33
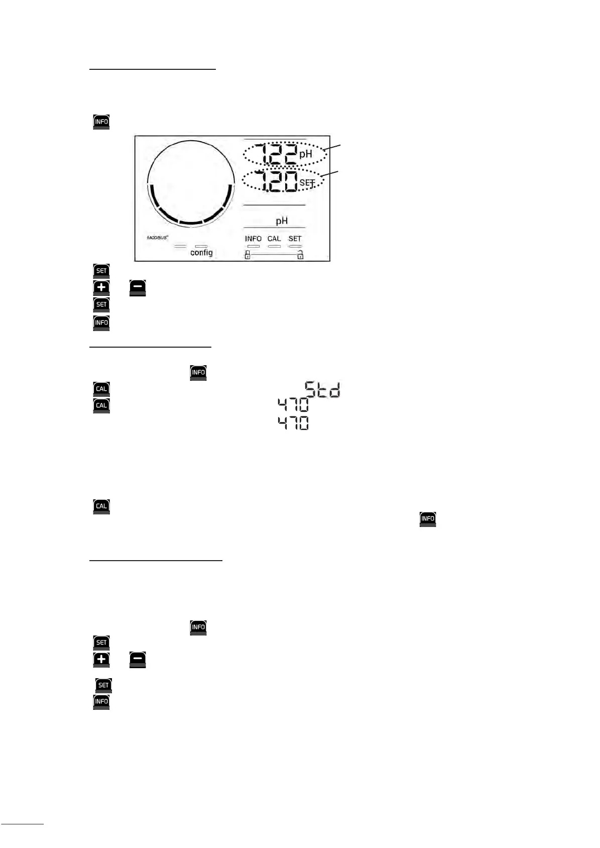
4.4.4. Conguring the pH setpoint
The pH setpoint conguraon determines the me when acid is added to the system to reduce the water's pH. The
default value of the pH setpoint is 7.2.
To determine the value of the setpoint to be congured, refer to Taylor's balance, see § “3.1 I Balance the water”.
Press three mes to display the pH setpoint.
Current sensor measurement
Setpoint
Press The setpoint value ashes.
Press and to select the desired value. These values are increments of 0.1.
Press to conrm.
Press to exit.
4.4.5. Calibrang the ORP sensor
Switch o the pool's pump and close the necessary valves in order to isolate the cell and the sensors.
From the home screen, press 4 mes to access the ORP values.
Press to enter Calibraon mode. The screen displays ("Standard").
Press to select this mode. The screen displays
Remove the sensor.
Rinse the p of the sensor with tap water.
Shake it to remove any residual water. Do not touch the gold p at the end of the ORP sensor.
Place the p of the ORP sensor in the ORP 470 mV soluon.
Wait 15 seconds.
Rinse the p of the sensor with tap water.
Replace the sensor back in its holder.
Press . Calibraon is complete.
If necessary, adjust the setpoint (see § “4.4.6. Conguring the ORP setpoint”) or press to return to the home
screen.
4.4.6. Conguring the ORP setpoint
The ORP setpoint conguraon determines the me at which chlorine is produced by the appliance. The level of
free chlorine must be controlled at regular intervals aer inial installaon. The default value of the ORP setpoint is
700 mV.
The value of the setpoint depends on the pool's environment, its auence, and the amount of stabiliser present in the
pool water.
From the home screen, press 4 mes to access the ORP values.
Press . The setpoint value ashes.
Press and to select the desired value (recommended between 650 mV and 750 mV). These values are
increments of 1.
Press to conrm.
Press to exit.

Related product manuals