EasyManua.ls Logo

ZOJE 1900D - Sewing with Registered Patterns; Combination Sewing Patterns; Storing Combination Patterns

ZOJE 1900D
55 pages
Print Icon
To Next Page IconTo Next Page
To Next Page IconTo Next Page
To Previous Page IconTo Previous Page
To Previous Page IconTo Previous Page
Loading...
12
2Sewing Operation
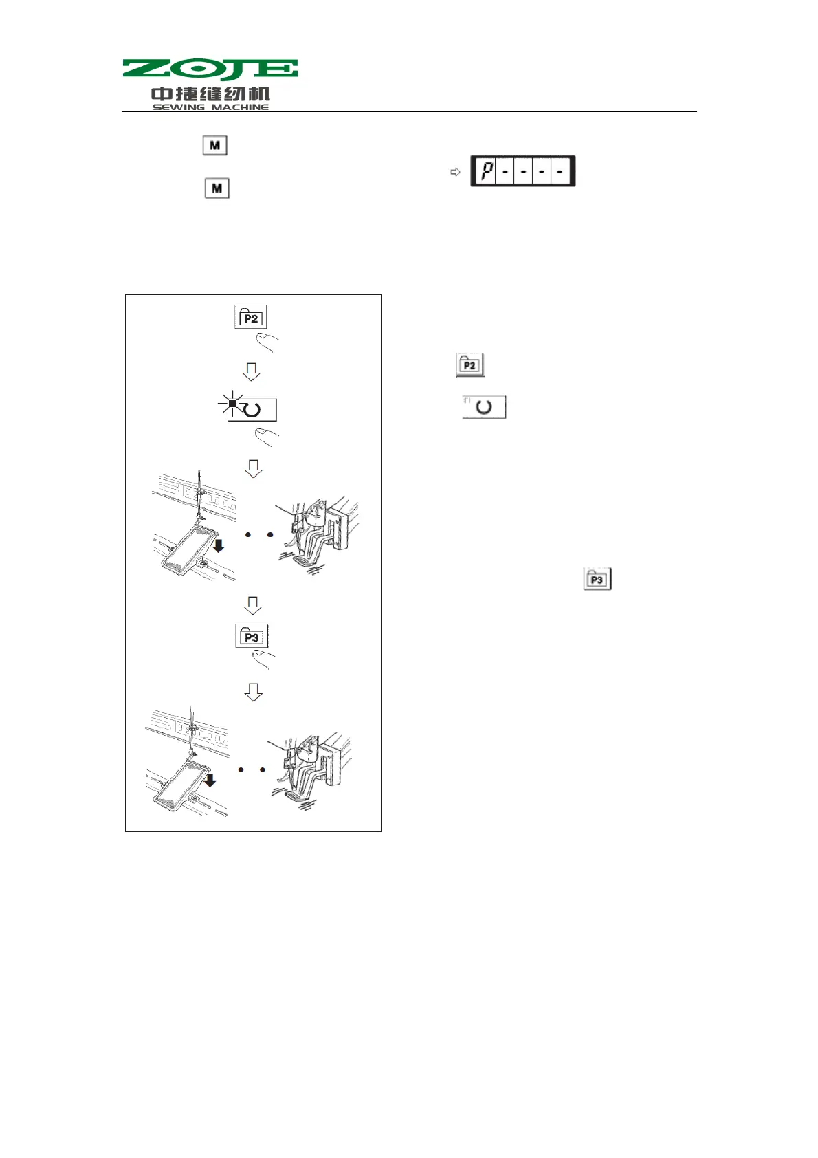
Example: sew the pattern saved as P2 at first, and then sew the P3.
2.3.2 Sewing with Combination Functions
Store the patterns registered in the sequence as P1~P50 to C1~C20. The sewing pattern will be
changed in order upon the finish of sewing in each time. 30 patterns can be stored in a
combination code at most.
1 Storage of Combination Pattern
Example: Register the combination in order of P1, P2 and P3.
10) Press
to end pattern storage mode
11) Press
to end Mode Setting and return to
Ordinary Mode
1 Turn on the power.
2 Press
.
3 Press to turn on the Sewing LED,
and then the presser will go up.
4 Confirm the pattern shape.
5 If the pattern shape is correct, the machine
will be able to carry out the sewing.
6 After sewing, please press
to lower the
presser for searching the origin. After that, the
presser will move to the sewing start point
and go up.
(When the Sewing LED is on, user can also
press P keys to change the pattern.)
7 Perform the operations in Step 4 and Step 5.