EasyManua.ls Logo

A.O. Smith BTH-120 - 4 Inch Concentric Termination Installation; 4 Inch Concentric Termination Vertical Installation; 4 Inch Concentric Termination Sidewall Installation

A.O. Smith BTH-120
80 pages
Print Icon
To Next Page IconTo Next Page
To Next Page IconTo Next Page
To Previous Page IconTo Previous Page
To Previous Page IconTo Previous Page
Loading...
31
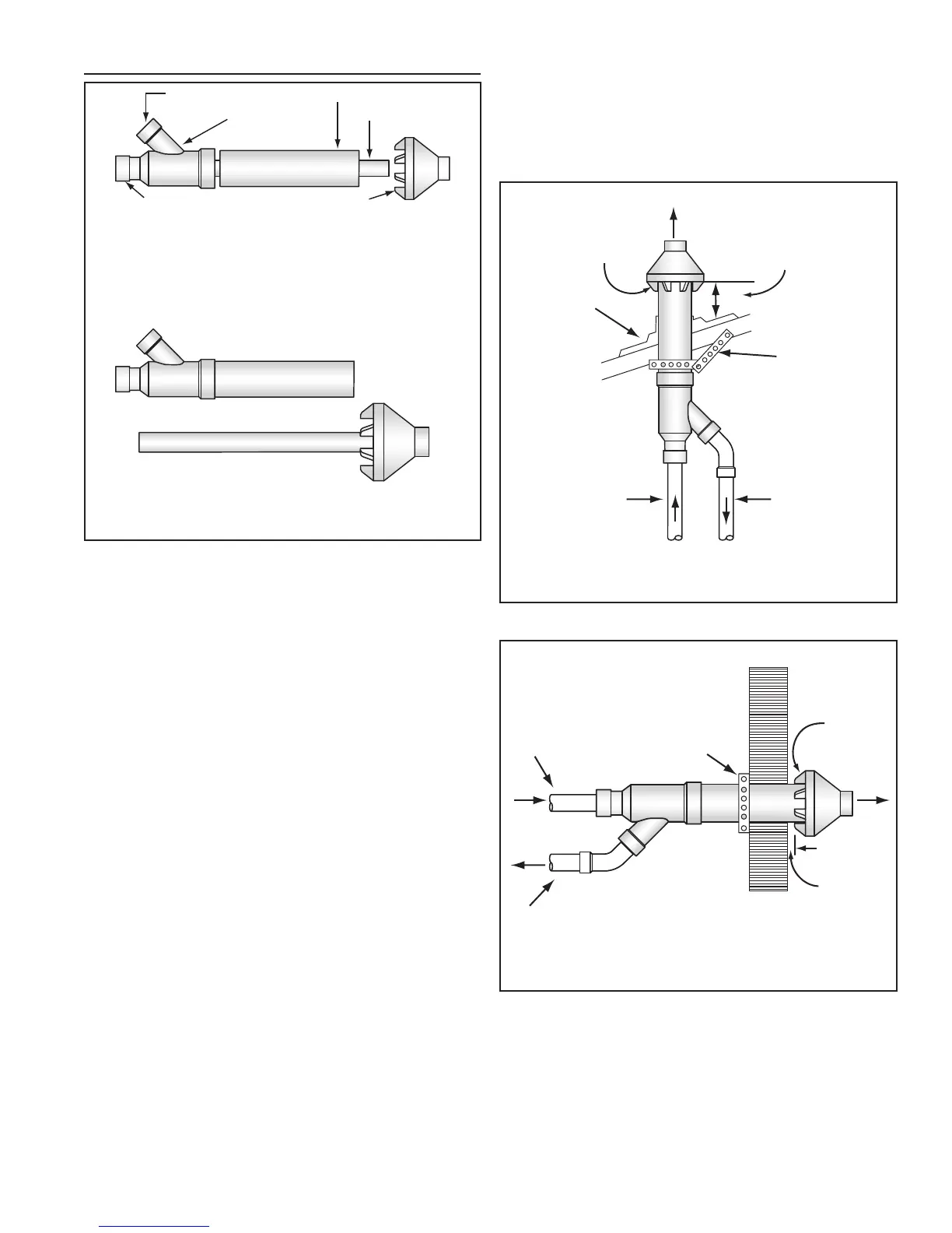
4 INCH CONCENTRIC TERMINATION INSTALLATION
4 INCH CONCENTRIC TERMINATION KIT
FOUR PIECE KIT - FIELD ASSEMBLY REQUIRED
VENT PIPE
INTAKE AIR CONNECTION
3 INCH PVC
VENT CONNECTION - 3 INCH PVC
INTAKE AIR PIPE
Y FITTING ASSEMBLY
VENT CAP
VENT PIPE ASSEMBLY
VENT PIPE IS 2 1/2 INCH SDR-26 PIPE
SUPPLIED LENGTH 37 INCHES (94 cm)
MAXIMUM ALLOWABLE LENGTH 73 INCHES (185 cm)
MINIMUM ALLOWABLE LENGTH 25 INCHES (64 cm)
INTAKE AIR PIPE IS 4 INCH SDR-26 PIPE
SUPPLIED LENGTH 24 INCHES (60 cm)
MAXIMUM ALLOWABLE LENGTH 60 INCHES (152 cm)
MINIMUM ALLOWABLE LENGTH 12 INCHES (30 cm)
VENT CAP
INTAKE AIR PIPE
3” x 3” x 4”
Y FITTING
Figure 29


 
 
     
      

 

         


 
 

   


 


          
        


          

 
         

NOTE: SECURING STRAP
MUST BE FIELD INSTALLED
TO PREVENT MOVEMENT
OF TERMINATION KIT
MAINTAIN 12” (30 cm)
18” (45 cm) FOR CANADA
MINIMUM CLEARANCE
ABOVE HIGHEST ANTICIPATED
SNOW LEVEL. MAXIMUM OF
24” (60 cm) ABOVE ROOF.
ROOF FLASHING
(field supplied)
STRAP
(field supplied)
VENT
PIPE
INTAKE
AIR PIPE
COMBUSTION
AIR
VENT
4 INCH CONCENTRIC TERMINATION
VERTICAL INSTALLATION
Figure 30
NOTE: SECURING STRAP MUST BE
FIELD INSTALLED TO PREVENT
MOVEMENT OF TERMINATION KIT
IN SIDEWALL.
STRAP
(field supplied)
VENT
PIPE
INTAKE
AIR PIPE
COMBUSTION
AIR
VENT
1 INCH
MAXIMUM
4 INCH CONCENTRIC TERMINATION
SIDEWALL INSTALLATION
Figure 31

Table of Contents