EasyManua.ls Logo

A&D EK-15KL - Power Source

A&D EK-15KL
44 pages
Print Icon
To Next Page IconTo Next Page
To Next Page IconTo Next Page
To Previous Page IconTo Previous Page
To Previous Page IconTo Previous Page
Loading...
7
4-2. Power source
As the power source, the AC adapter or lead-acid battery is available.
The scale remains powered while the AC adapter is connected, even if nothing is
shown in the display.
To ensure stable weighing, keep the scale connected to the power supply using
the AC adapter whenever possible.
There are no negative effects to the scale in keeping it connected to the power
supply.
To ensure accurate weighing, connect the scale to the power supply at least 30
minutes before use.
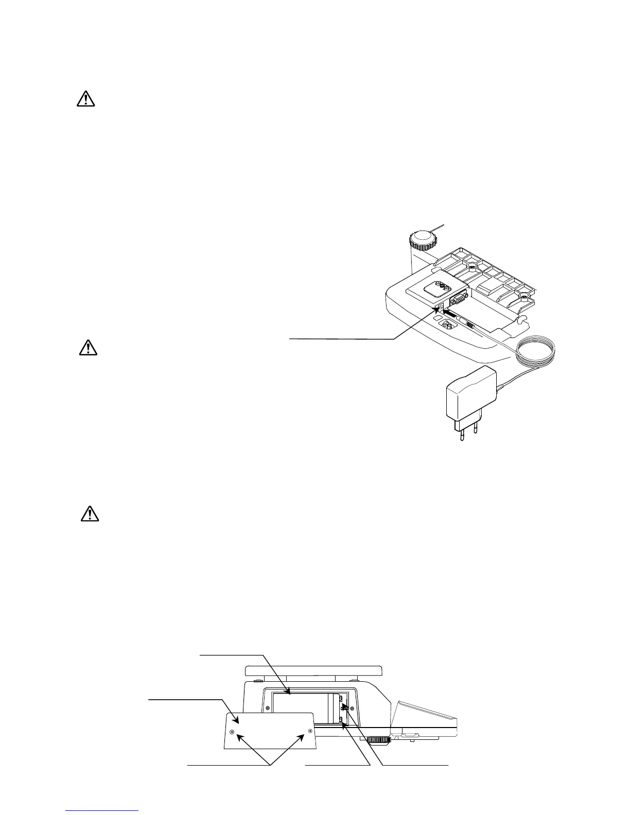
Using the AC adapter
Connect the AC adapter to an electrical
outlet.
Insert the AC adapter plug into the AC
adapter jack located on the underside of
the display.
Use a stable power source.
Use the AC adapter provided
with the scale.
AC adapter
Using the sealed lead-acid battery
A commercially available sealed lead-acid battery can be used to operate the scale.
Use an NP4-6 battery (6V, 4.0Ah) manufactured by Yuasa Battery Inc.
The scale can be operated continually for approximately 100 hours on
a fully charged battery (at 25°C with backlight always off)
When disposing of the battery, inquire to the battery manufacturer,
supplier or industrial waste disposal company for details on how to
correctly dispose of the battery.
The overall operating hours and battery life vary depending on how
the scale is used and the ambient temperature.
AC adapter jack
Sealed lead-acid
battery
M3 screws
“–“ terminal
(
black
)
“+” terminal
(red)
Battery cover

Related product manuals