EasyManua.ls Logo

ABB ACS880+N5350 - 5.3 Protecting the Drive and Input Power Cable in Short-Circuits

ABB ACS880+N5350
247 pages
Print Icon
To Next Page IconTo Next Page
To Next Page IconTo Next Page
To Previous Page IconTo Previous Page
To Previous Page IconTo Previous Page
Loading...
5-2 Power Wiring 3AXD50000011888
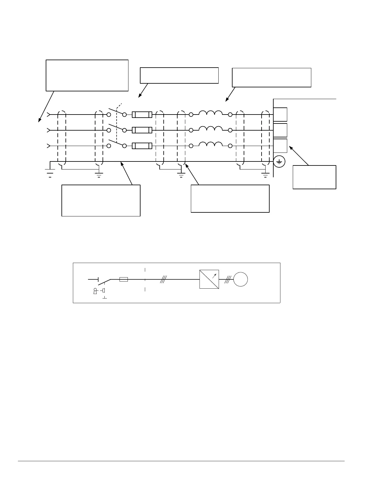
Figure 5-1 Incoming Power Diagram
Input
Power
Input Disconnect
Fuses ACS880+N5350
Input disconnect and branch circuit protection
provided by customer to meet local codes. See
table 5.2 for recommended ratings.
ACS880+N5350 must be solidly grounded per
local code. A continuous ground connection
must be made between the ACS880+N5350
and the facility ground. This ground wire should
be sized per local code and is typically the same
gauge as the power leads. It must be pulled in
same conduit as incoming power leads.
Incoming power should be pulled together in a
metallic conduit or be in a sheathed cable. Four
conductors must be used (3 for incoming power
and 1 for ground). Conduit or sheath must be
grounded and continuity of ground maintained.
See tables in Chapter 4
for wire gauge range and
for tightening torques of
incoming terminals.
Incoming power must meet specifications shown in
table 5-1. Power supplied to the ACS880+N5350
must be symmetrical relative to ground. Power
factor correction capacitors must not be switched
on/off of the supply while the ACS880+N5350 is
connected to the line to prevent drive damage.
L1
L2
L3
Input Reactor
Optional customer supplied input reactor shown .
See Chapter 5 of the ACS880-01 Hardware Manual
3AUA0000078093 for details on installation planning.
5.3 Protecting the Drive and Input Power Cable in Short-Circuits
Protect the drive and input cable with fuses as follows:
Figure 5-2
~
~
M
3~
Size the fuses at the distribution board according to Table 5-2. The fuses will protect the input cable in short-circuit
situations, restrict drive damage and prevent damage to adjoining equipment in case of a short-circuit inside the drive.
Note: Circuit breakers must not be used without fuses. For more information, contact ABB.

Table of Contents

Related product manuals