EasyManua.ls Logo

ABB AZ10 - 6 Installation; General Mounting Requirements

ABB AZ10
36 pages
Print Icon
To Next Page IconTo Next Page
To Next Page IconTo Next Page
To Previous Page IconTo Previous Page
To Previous Page IconTo Previous Page
Loading...
10 AZ10 OXYGEN ANALYZER | COMBUSTION GAS ANALYSIS | OI/AZ10-EN REV. A
6 Installation
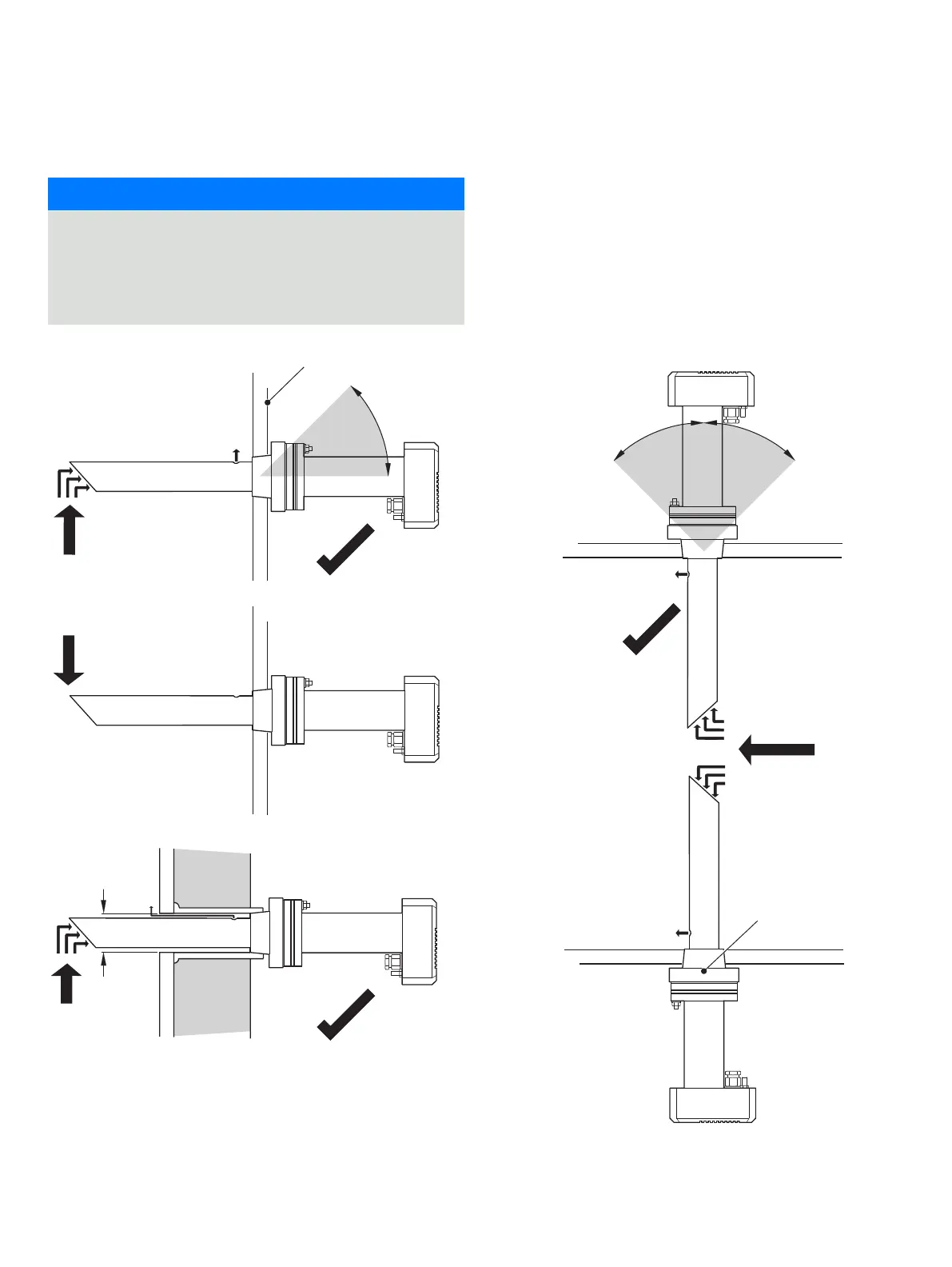
General mounting requirements
NOTICE
For optimum performance, mount the probe at 90° to the
gas flow.
The probe will function adequately in turbulent gas flows.
Do not obstruct the flue gas exit hole.
Figure 7 General mounting requirements
X
X
45 º
45º
45 º

If the flue is lagged, a stand-off tube of
suitable length with a minimum internal

Do not mount the probe in such a manner that
allows ash/soot/debris to accumulate in the probe
Ash/soot/debris will
accumulate here and
block the probe cell
Ambient air temperature at
probe terminal head

max.
Exit
Gas flow
See Notice above
See Notice above
See Notice above
Gas flow
Gas flow
Gas flow
Exit
Exit
Exit


min.
max.
max.

Table of Contents