EasyManua.ls Logo

ABB MagMaster - Logic (1 or 0) Value Parameters; (Excluding Alarm Parameters)

ABB MagMaster
28 pages
Print Icon
To Next Page IconTo Next Page
To Next Page IconTo Next Page
To Previous Page IconTo Previous Page
To Previous Page IconTo Previous Page
Loading...
7
…2 CONFIGURING THE TRANSMITTER
Note. When a ? prompt is showing, press to leave current value unaltered.
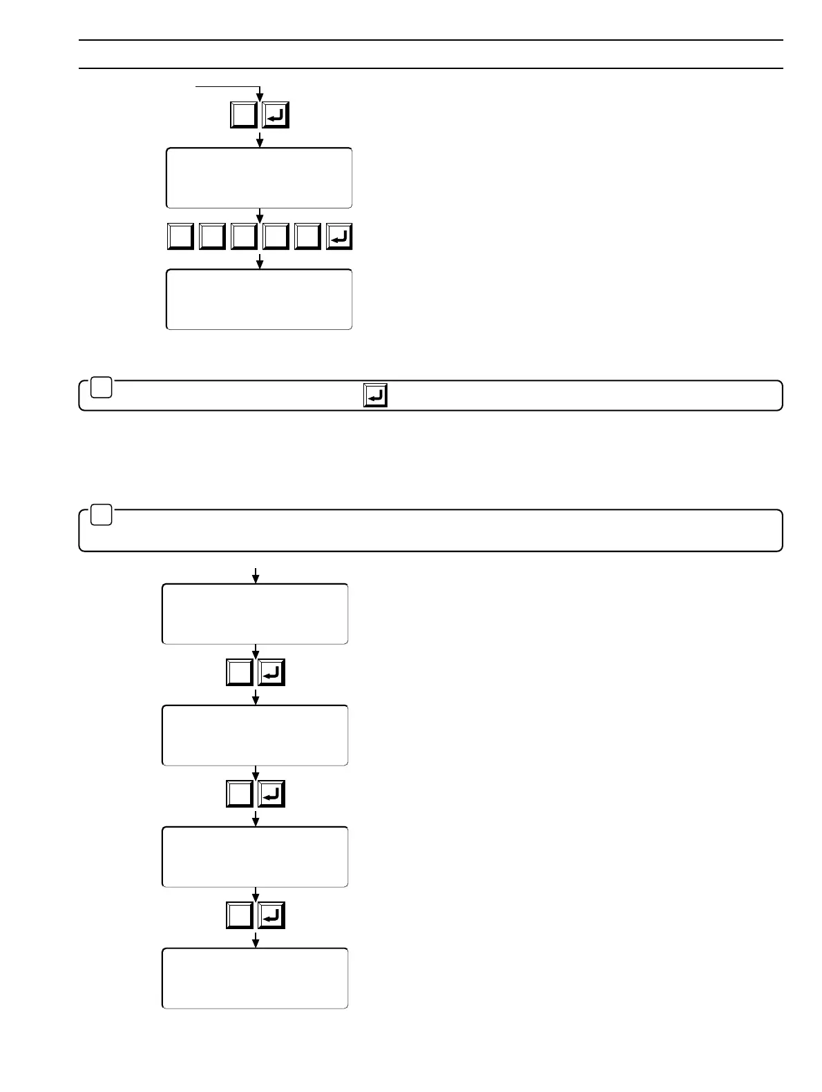
2.6.2 Logic (‘1’ or ‘0’) Value Parameters (excluding Alarm Parameters)
Note. Flow units are mutually exclusive in that only one unit can be selected at any one time. All other units are
automatically deselected.
Entering 4 as above in 2.6.1 accesses Flow sub-menu.
Entering 2 accesses item 2 (Flow Units) of the Flow sub-menu.
0 shows that this Flow Unit parameter (Litres) is not selected.
1 = Unit selected; 0 = Unit not selected.
Entering 1 accesses Flow Unit Ltr parameter 1 .
? shows that you can change this logic 0 value.
Entering 1 selects this units parameter.
(All other parameters in the Flow Unit sub-menu automatically
change to 0).
1 indicates that litre flow units have been selected.
Flow Rng 1>
88.50
Flow Rng
88.50 ?
1
Flow Rng 1>
88.50 ? 234.5
Flow Rng
234.50
2 3 4 . 5
Entering 1 selects this parameter.
? shows that you can change this value.
Enter a new value of % Flow Range.
New range setting of 234.5 now in use.
Read 1>
4
Flow Rng 1>
234.5
Flow Rng 1>
234.50 2
Flow Unit Ltr 1>
0
2
Flow Unit Ltr 1>
0 1
Flow Unit Ltr 1>
0 ?
1
Flow Unit Ltr 1>
0 1
Flow Unit Ltr 1>
1
1

Other manuals for ABB MagMaster

Related product manuals