EasyManua.ls Logo

ADVANSEA multi s400 - Selezione Delle Informazioni Sulla Parte Bassa del Display

ADVANSEA multi s400
246 pages
Print Icon
To Next Page IconTo Next Page
To Next Page IconTo Next Page
To Previous Page IconTo Previous Page
To Previous Page IconTo Previous Page
Loading...
 9
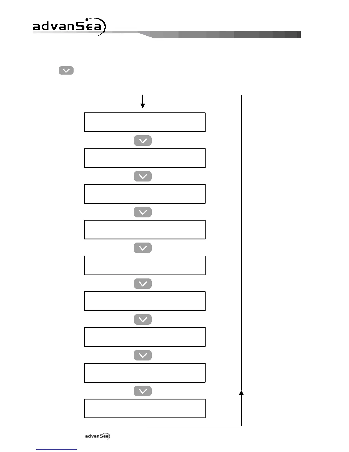
2.2.2. Selezione delle informazioni sulla parte bassa del display
Il tasto serve per selezionare i diversi dati sulla riga inferiore.
Funzionamento del tasto:
Cronometro regata
CHRONO
Cronometro regata
CHRONO
Tensione batteria
BAT
Tensione batteria
BAT
Registro viaggio
LOG
Registro viaggio
LOG
Registro totale
Total LOG
Registro totale
Total LOG
Temperatura
TEMP
Temperatura
TEMP
Profondità
DEPTH
Profondità
DEPTH
Velocità barca
SPEED
Velocità barca
SPEED
Velocità media
AVG SPEED
Velocità media
AVG SPEED
Velocità max
MAX SPEED
Velocità max
MAX SPEED

Table of Contents

Related product manuals