EasyManua.ls Logo

Advantech Adam - 4024 - Application Wiring

Advantech Adam - 4024
390 pages
Print Icon
To Next Page IconTo Next Page
To Next Page IconTo Next Page
To Previous Page IconTo Previous Page
To Previous Page IconTo Previous Page
Loading...
ADAM-4000 Series User Manual 34
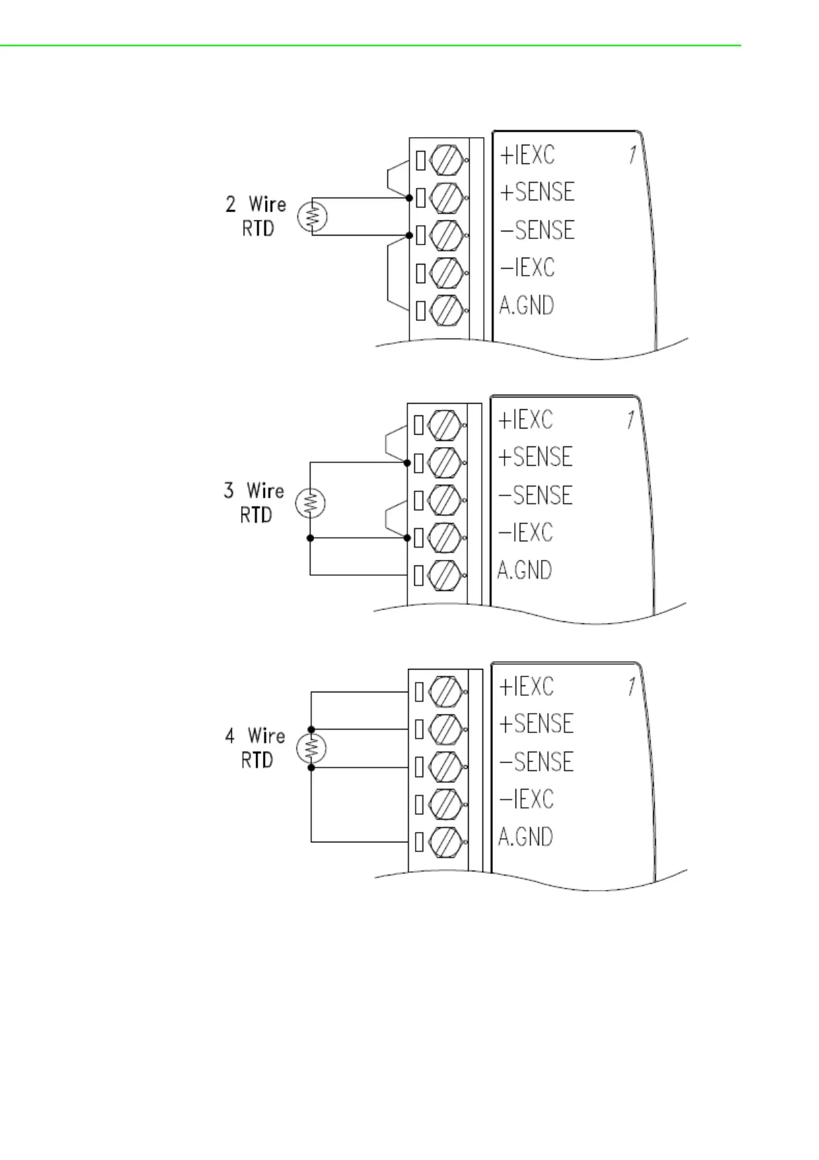
3.4.1 Application Wiring
Figure 3.16 ADAM-4013 RTD Inputs Wiring Diagram

Table of Contents

Related product manuals