EasyManua.ls Logo

AEG SWB61501DG - Péče A Údržba

AEG SWB61501DG
Print Icon
To Next Page IconTo Next Page
To Next Page IconTo Next Page
To Previous Page IconTo Previous Page
To Previous Page IconTo Previous Page
Loading...
10 www.electrolux.com
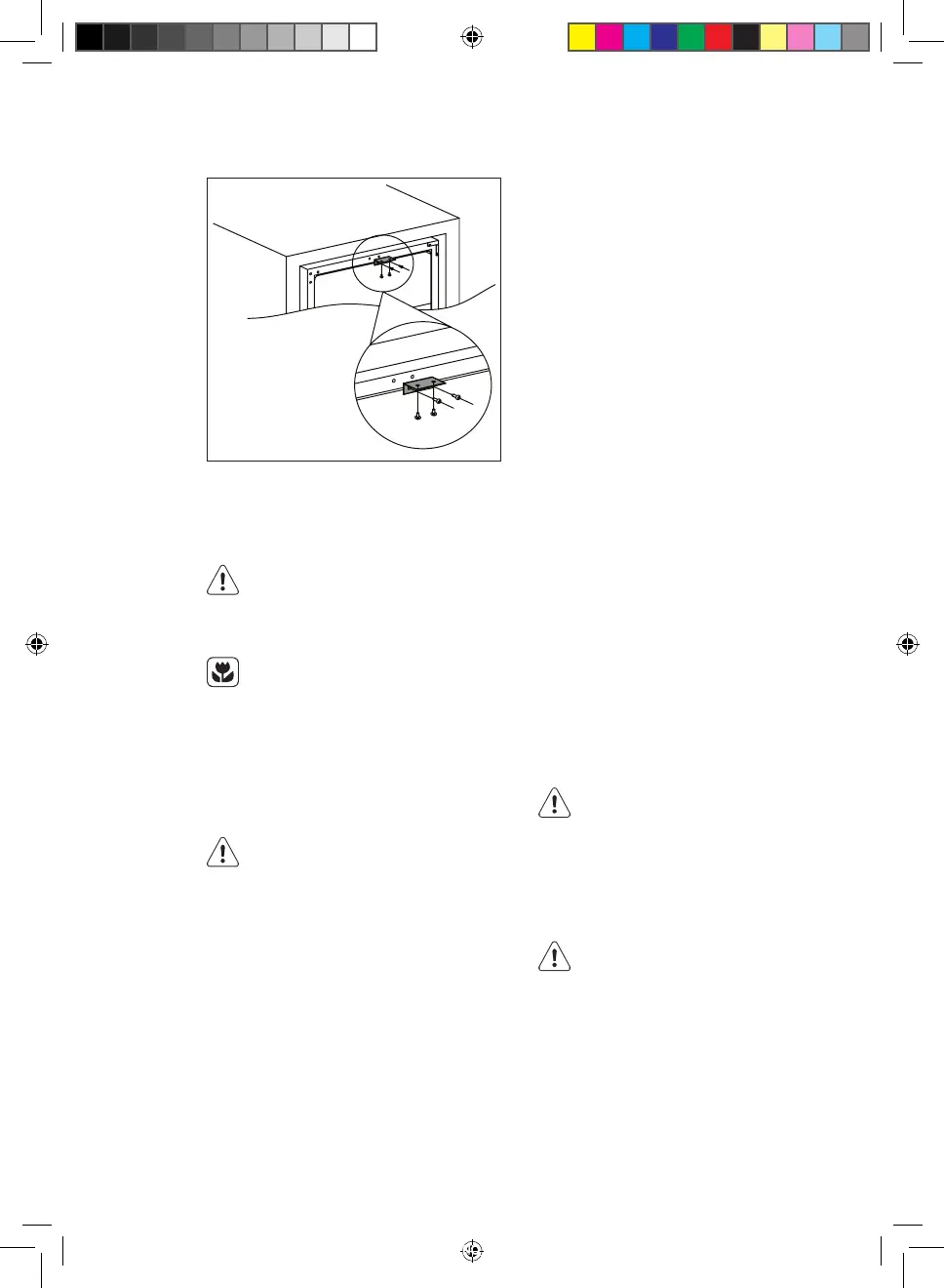
INSTALACEHORNÍKONZOLY
Kinstalacíhorníkonzolynavrchníčást
vinotékypoužijtedvašroubyapoté
zatlačtevinotékudoskříněapomocí
dvoušroubůpřipevnětekonzolunaskříň.
Nížejeuvedenéreferenčnívyobrazení.
POZOR!
Předkaždouúdržbounebo
čištěnímspotřebičodpojte
odelektrickésítě.
Tentospotřebičobsahuje
uhlovodíkyvchladicíjednotce;
údržbuadoplněnísmítedy
provádětpouzeoprávněný
technik.
PRAVIDELNÉČIŠTĚNÍ
Spotřebičjenutnépravidelněčistit:
Nehýbejtesžádnýmitrubkami
nebokabelyuvnitřspotřebiče,
netahejtezaněanepoškozujte
je.Nikdynepoužívejtekčištění
vnitřkuspotřebičemycí
prostředky,abrazivníprášky,
vysoceparfémovanéčisticí
prostředkynebovoskováleštidla,
protožemohoupoškoditpovrch
azanechatsilnýzápach.
Vnitřnípovrchymyjteroztokemteplé
vodysjedlousodou.Tentoroztok
bymělbýtvytvořenzccadvou
polévkovýchlžicjedlésodyacca
1,13lvody.
PÉČEAÚDRŽBA
Přičištěníoblastiovládacíchprvků
nebojakýchkolivelektrickýchčástí
vyždímejtepřebytečnouvodu
zhoubičkyčihadru.
Vnějšíčástispotřebičemyjteteplou
vodousjemnýmtekutýmmycím
prostředkem.
Pravidelněkontrolujtetěsněnídveří
aotírejteje,abybyločisté,bez
usazenýchnečistot.
Všedůkladněopláchněteaosušte.
Dbejtenato,abystenepoškodili
chladicísystém.
Počištěníznovupřipojtespotřebič
kelektrickésíti.
VÝMĚNAŽÁROVKY
VAROVÁNÍ!
Varování!PokudjeLEDžárovkavadná,
NEMĚŇTEJISAMI.
PokudLEDžárovkuvyměníosobabez
příslušnékvalikace,existujezderiziko
poraněníavážnýchporuch.
LEDžárovkumusívyměnitexpert,aby
sezabránilojakýmkolivškodám.Obraťte
senamístníservisnístředisko.
SWB61501DG-SWE61501DG_Wine_cellar_AEG_CZ_DA_EN_FI_FR_IT_NO_PL_RU_SK_SV_UK.indd 10 2017-06-28 10:05:55

Table of Contents

Related product manuals