EasyManua.ls Logo

AEG SWB61501DG - Pleje Og Vedligeholdelse

AEG SWB61501DG
Print Icon
To Next Page IconTo Next Page
To Next Page IconTo Next Page
To Previous Page IconTo Previous Page
To Previous Page IconTo Previous Page
Loading...
24 www.electrolux.com
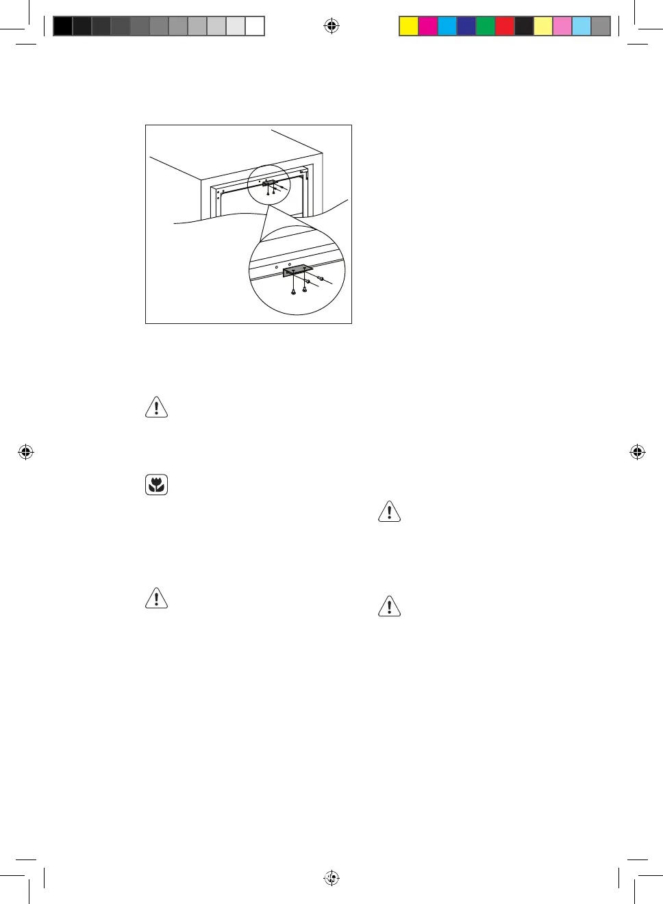
INSTALLATIONAFDETØVERSTEBESLAG
Brugtoskruertilatinstalleredetøverste
beslagøverstpåvinkøleren,ogskub
dereftervinkølerenindiskabet,og
brugtoskruertilatfastgøredetøverste
beslagpåskabet.Nedenstående
illustrationtilreference.
PAS PÅ!
Koblapparatetfra
strømforsyningen,førder
udføresnogensomhelstform
forvedligeholdelse.
Apparatetskølesystemindeholder
kulbrinter,ogserviceogpåfyldning
afkølemiddelmåderforkun
udføresafenautoriserettekniker.
REGELMÆSSIGRENGØRING
Apparatetskaljævnligrengøres:
Undgåattrækkei,ytteeller
beskadigeevt.rørog/eller
ledningeriskabet.
Brugaldrigopvaskemiddel,
skurepulver,stærktparfumeret
rengøringsmiddeleller
voksproduktertilindvendig
rengøringafskabet.Detskader
overadenogefterladerkraftiglugt.
Vaskdeindvendigeoveradermed
enopløsningafvarmtvandognatron.
Opløsningenbørværeca.2spsk.
natrontilenlitervand.
Vridoverskydendevandudaf
svampenellerkluden,nårdurengør
kontrolområdetellerelektriskedele.
PLEJEOGVEDLIGEHOLDELSE
Vaskdenudvendigekølermed
varmtvandogetmildtydende
opvaskemiddel.
Eftersejævnligdørpakningerne,
ogtørdemaf,sådeerreneogfri
forbelægninger.
Skylogtørgrundigtaf.
Undgåatbeskadigekølesystemet.
Sætstikketistikkontaktenefter
rengøringen.
UDSKIFTNINGAFPÆRE
ADVARSEL!
Advarsel!Hviskontrollampenerdefekt,
MÅDUIKKESELVUDSKIFTEDEN.
Hviskontrollampenudskiftesafen
person,derikkeerkvalicerettildet,
erderrisikoforpersonskade,ogder
kanværealvorligefunktionsfejl.
Kontrollampenskaludskiftesafen
ekspertforatforhindrebeskadigelse.
Kontaktdetlokaleservicecenter.
SWB61501DG-SWE61501DG_Wine_cellar_AEG_CZ_DA_EN_FI_FR_IT_NO_PL_RU_SK_SV_UK.indd 24 2017-06-28 10:05:57

Table of Contents

Related product manuals