EasyManua.ls Logo

AEG SWB61501DG - Hoito Ja Ylläpito

AEG SWB61501DG
Print Icon
To Next Page IconTo Next Page
To Next Page IconTo Next Page
To Previous Page IconTo Previous Page
To Previous Page IconTo Previous Page
Loading...
52 www.electrolux.com
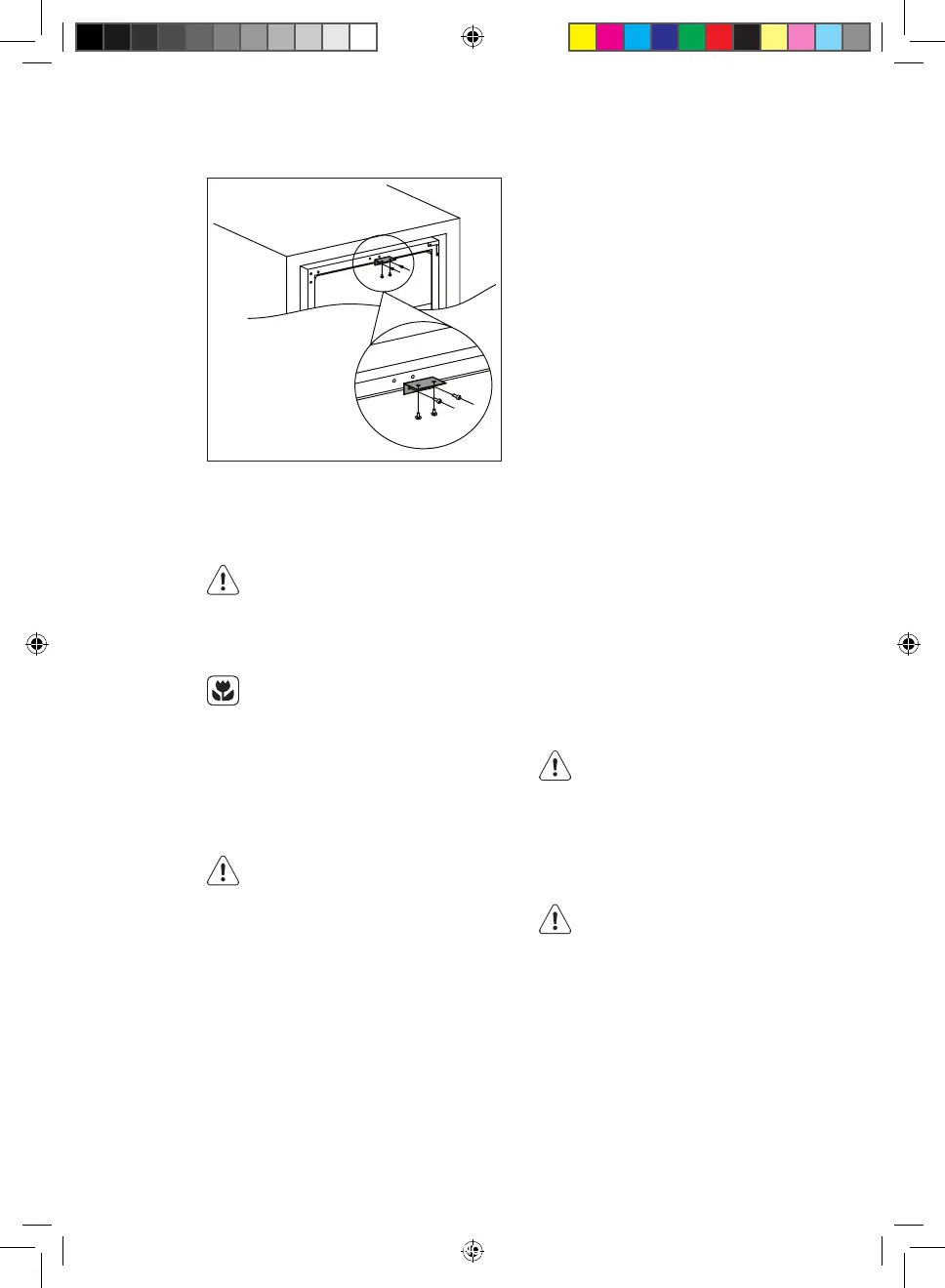
YLÄKANNATTIMENASENTAMINEN
Asennayläkannatinviinikaapinyläosaan
kahdenruuvinavulla,painaviinikaappi
sittenkalusteeseenjakiinnitäyläkannatin
kalusteeseenkahdenruuvinavulla.
Katsoallaolevakaavio.
HUOMAUTUS!
Kytkelaiteirtiverkkovirrasta
ennenminkäänlaisten
puhdistustoimenpiteiden
suorittamista.
Laitteenjäähdytysyksikkösisältää
hiilivetyä.Jäähdytysyksikön
huollonjatäytönsaasuorittaa
ainoastaanvaltuutettu
huoltomekaanikko.
SÄÄNNÖLLINENPUHDISTUS
Laiteonpuhdistettavasäännöllisesti:
Älävedä,siirrätaivahingoita
kaapinsisälläoleviaputkiaja/tai
kaapeleita.
Äläkäytäpuhdistusaineita,
hankausjauhetta,
voimakastuoksuisia
puhdistustuotteitatai
kiillotusvahaasisätilojen
puhdistamisessa,sillätällaiset
tuotteetvahingoittavatpintoja
jajättävätvoimakkaantuoksun.
Pesesisäpinnatlämpimällävedellä,
johononlisättyruokasoodaa.Sekoita
2rklruokasoodaanoinyhteenlitraan
vettä.
HOITOJAYLLÄPITO
Puristaylimääräinenvesipois
sienestätailiinasta,kunpuhdistat
säätimiätaisähköosia.
Pesekaapinulkopintalämpimällä
vedelläjamiedollanestemäisellä
pesuaineella.
Tarkistaoventiivisteetsäännöllisesti
japyyhinepuhtaaksi.
Huuhtelejakuivaahuolellisesti.
Varovahingoittamasta
jäähdytysjärjestelmää.
Kunlaiteonpuhdistettu,kytkesetakaisin
verkkovirtaan.
LAMPUNVAIHTAMINEN
VAROITUS!
Varoitus!JosLED-lamppuonviallinen,
ÄLÄVAIHDASITÄITSE.
JosLED-lampunvaihtaahenkilö,jolla
eiolevaadittujapätevyyksiä,vaarana
ovathenkilövahingotjavakavat
toimintahäiriöt.
Vaurioidenvälttämiseksiainoastaan
asiantuntijasaavaihtaaLED-
lampun.Otayhteysvaltuutettuun
huoltoliikkeeseen.
SWB61501DG-SWE61501DG_Wine_cellar_AEG_CZ_DA_EN_FI_FR_IT_NO_PL_RU_SK_SV_UK.indd 52 2017-06-28 10:06:00

Table of Contents

Related product manuals