EasyManua.ls Logo

AEG SWB61501DG - Stell Og Vedlikehold

AEG SWB61501DG
Print Icon
To Next Page IconTo Next Page
To Next Page IconTo Next Page
To Previous Page IconTo Previous Page
To Previous Page IconTo Previous Page
Loading...
94 www.electrolux.com
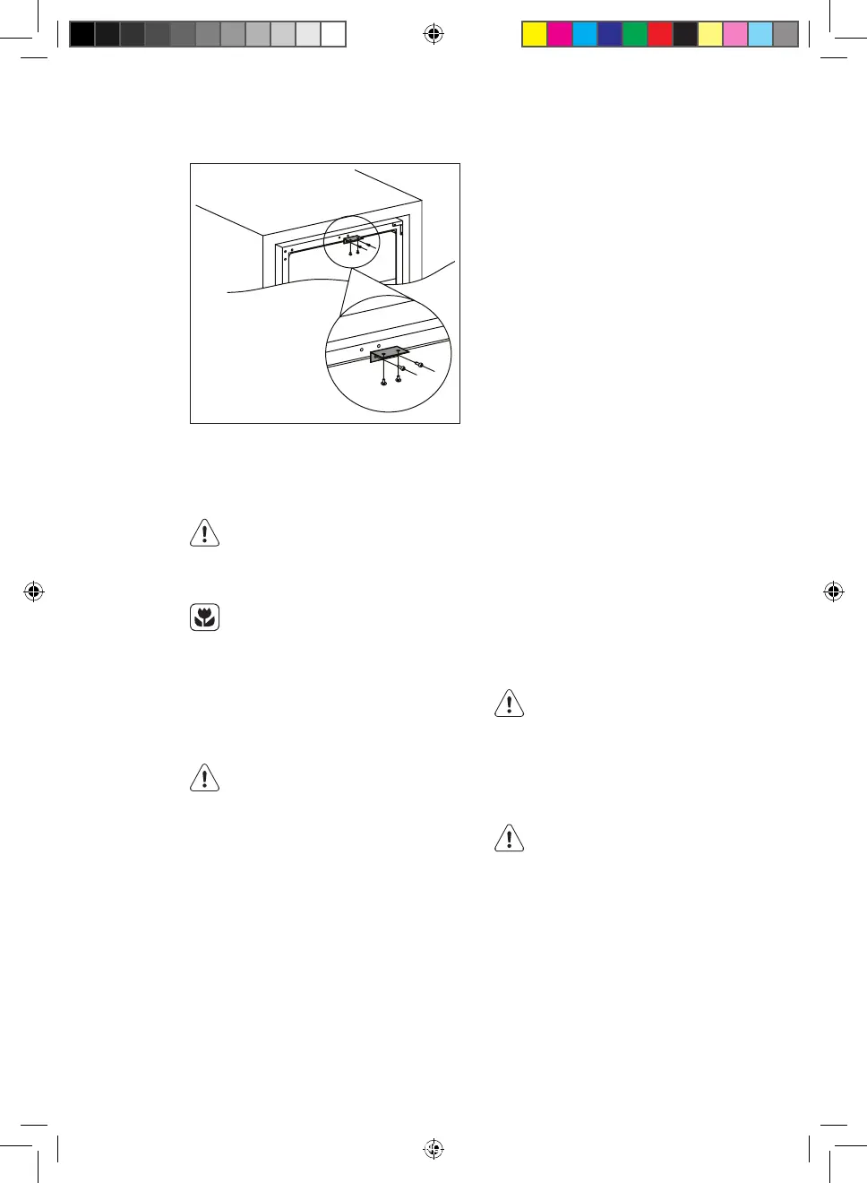
INSTALLERDENØVREBRAKETTEN
Bruktoskruertilåinstalleredenøvre
brakettenoppåvinkjøleren,trykk
vinkjølereninnikabinettetogbruk
toskruertilåfestedenøvrebraketten
påkabinettet.Setegningennedenfor.
FORSIKTIG!
Trekkstøpseletutavstikkontakten
førduforetarenhverrengjøring
avskapet.
Detteproduktetinneholder
hydrokarbonerikjølekretsen.
Vedlikeholdmåderforbareutføres
avautoriserteserviceteknikere.
REGELMESSIGRENGJØRING
Utstyretskalrengjøresregelmessig:
Ikketrekki,yttellerpåførskade
pånoenrørog/ellerkablerinne
ikabinettet.
Brukaldristerkevaskemidler,
skurepulver,sterktparfymerte
rengjøringsproduktereller
vokspoleringsmidlerforårengjøre
innvendig.Detteskaderoveraten
ogetterlatersterklukt.
Vaskoveratenepåinnsidenmed
bakepulveroppløstivarmtvann.
Løsningenskalværeomtrent2ss
bakepulvertil1lvann.
STELLOGVEDLIKEHOLD
Vrengutekstravannfrasvampeneller
klutennårdurengjørkontrollområdet
ellerandreelektriskedeler.
Vaskutsidenavkjølerenmedvarmt
vannogetmildtvaskemiddel.
Kontrollerdørpakningeneregelmessig
ogvaskdemforåsikreatdeerrene
ogfriformatrester.
Skyllogtørkgrundig.
Unngåskaderpåkjølesystemet.
Etterrengjøringsettesstøpseletinn
istikkontaktenigjen.
SKIFTELYSPÆRE
ADVARSEL!
Advarsel!DersomLED-lampensvikter,
IKKEBYTTDENSELV.
DersomLED-lampenblirbyttet
avenpersonsomikkeerkvalisert,
erdetrisikoforskadeogalvorligefeil.
LED-lampenmåblibyttetutav
enekspertforåforhindreskader.
Snakkmeddittnærmesteservicesenter.
SWB61501DG-SWE61501DG_Wine_cellar_AEG_CZ_DA_EN_FI_FR_IT_NO_PL_RU_SK_SV_UK.indd 94 2017-06-28 10:06:06

Table of Contents

Related product manuals