EasyManua.ls Logo

AEG SWB61501DG - Care And Maintenance

AEG SWB61501DG
Print Icon
To Next Page IconTo Next Page
To Next Page IconTo Next Page
To Previous Page IconTo Previous Page
To Previous Page IconTo Previous Page
Loading...
38 www.electrolux.com
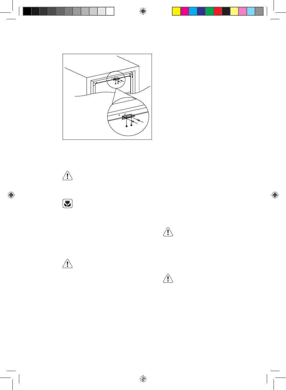
INSTALLINGTHEUPPERBRACKET
Usetwoscrewstoinstalltheupper
bracketonthetopofwinecooler,then
pushwinecoolerintocabinetanduse
twoscrewstoxtheupperbracketon
thecabinet.Belowdrawingforreference.
CAUTION!
Unplugtheappliancebeforecarry-
ingoutanymaintenanceopera-
tion.
Thisappliancecontainshy-
drocarbonsinitscoolingunit;
maintenanceandrechargingmust
thereforeonlybecarriedoutby
authorizedtechnicians.
PERIODICCLEANING
Theequipmenthastobecleanedregu-
larly:
Donotpull,moveordamageany
pipesand/orcablesinsidethe
cabinet.
Neverusedetergents,abra-
sivepowders,highlyperfumed
cleaningproductsorwaxpolishes
tocleantheinteriorasthiswill
damagethesurfaceandleavea
strongodour.
Washtheinsidesurfaceswithawarm
waterandbakingsodasolution.The
solutionshouldbeabout2table-
spoonsofbakingsodatoaquartof
water.
CAREANDMAINTENANCE
Wringexcesswateroutofthesponge
orclothwhencleaningareaofthe
controls,oranyelectricalparts.
Washtheoutsidecoolerwithwarm
waterandmildliquiddetergent.
Regularlycheckthedoorsealsand
wipecleantoensuretheyareclean
andfreefromdebris.
Rinseanddrythoroughly.
Takecareofnottodamagethe
coolingsystem.
Aftercleaning,reconnecttheequipmen
tothemainssupply.
CHANGINGTHELIGHTBULB
WARNING!
Warning!IftheLEDlampisfaulty,DO
NOTCHANGEITYOURSELF.
IftheLEDlampischangedbyaperson
whoisnotqualiedtodoso,thereisa
riskofinjuryandtherecouldbeserious
malfunctions.
TheLEDlampmustbereplacedbyan
expertinordertopreventanydamage.
SpeakYourlocalServiceForceCentre.
SWB61501DG-SWE61501DG_Wine_cellar_AEG_CZ_DA_EN_FI_FR_IT_NO_PL_RU_SK_SV_UK.indd 38 2017-06-28 10:05:59

Table of Contents

Related product manuals