EasyManua.ls Logo

AEG SWB61501DG - Starostlivosť A Údržba

AEG SWB61501DG
Print Icon
To Next Page IconTo Next Page
To Next Page IconTo Next Page
To Previous Page IconTo Previous Page
To Previous Page IconTo Previous Page
Loading...
136 www.electrolux.com
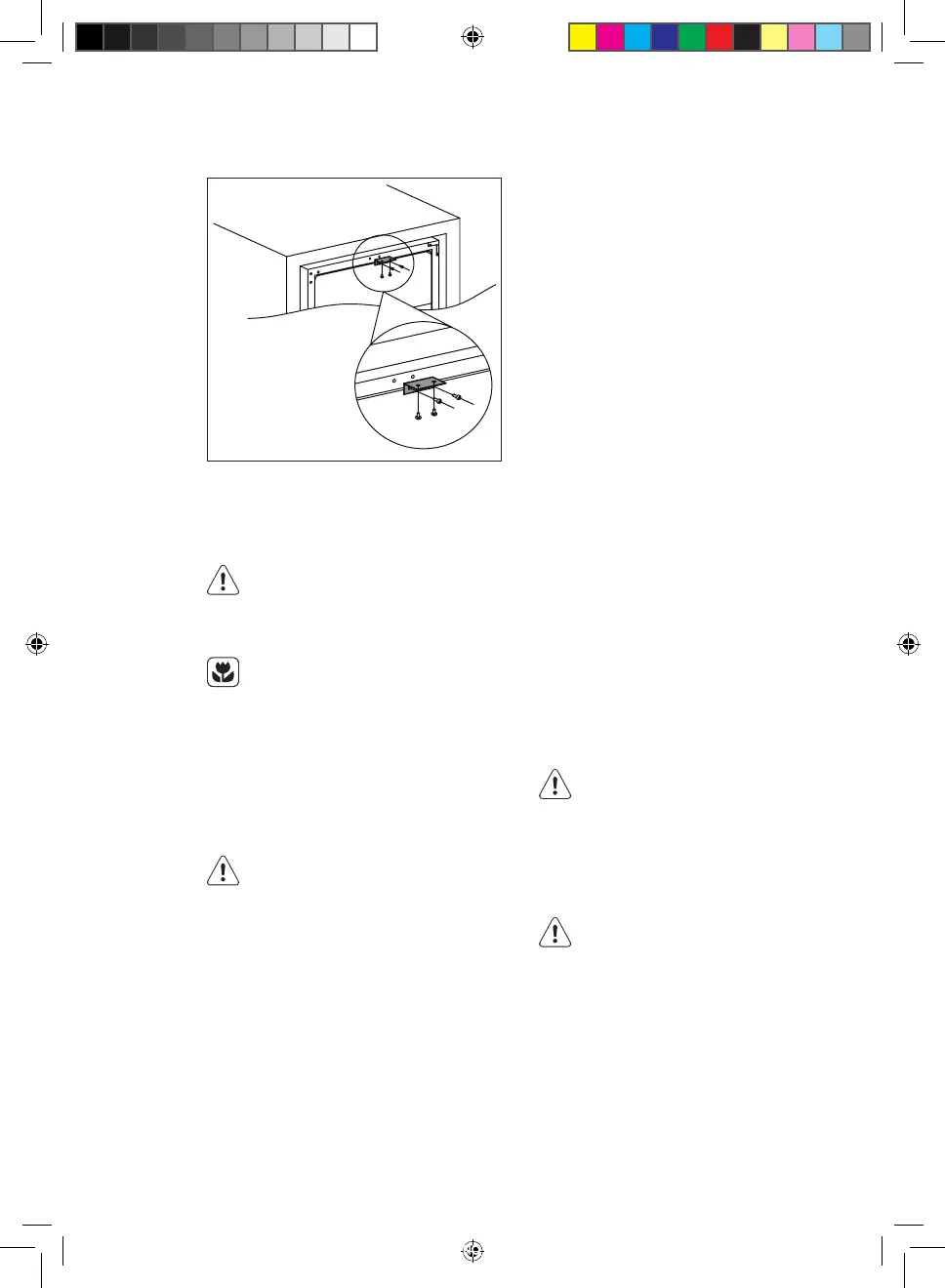
INŠTALÁCIAHORNÉHOKOŠA
Použitedveskrutkynanainštalovanie
hornéhokošanavrchnúčasťchladiča
vína,potomzasuňtechladiťvína
doskrinkyapoužitedveskrutkyna
upevneniehornejmriežkynaskrinku.
Obrázoknižšieslúžiakoreferencia.
POZOR!
Predakoukoľvekúdržbou
spotrebičodpojteodelektrickej
siete.
Vchladiacejjednotkespotrebiča
sanachádzajúuhľovodíky,preto
smieúdržbuadoplneniechladiva
vykonaťvýhradneautorizovaný
technik.
PRAVIDELNÉČISTENIE
Vybaveniespotrebičatrebapravidelne
čistiť:
Neťahajte,neposúvajtea
nepoškodzujtežiadnerúrky
a/alebokáblevspotrebičialebo
naňom.
Nikdynepoužívajtežiadnečistiace
prostriedky,drsnépráškové
prípravky,aromatizovanéčistiace
prípravkyanivoskovéleštiace
prostriedkynačistenieinteriéru,
pretožepoškodzujúpovrch
azanechávajúsilnúvôňu.
Vnútornépovrchyumyteroztokom
zteplejvodyapráškunapečenie.
Roztokbymalobsahovaťpribližne
2polievkovélyžicepráškuna
pečenienalitervody.
STAROSTLIVOSŤAÚDRŽBA
Predčistenímoblastiokoloovládacích
prvkovaleboakýchkoľvekelektrických
dielovvyžmýkajtezošpongie
nadbytočnúvodu.
Vonkajšíchladičumyteteplouvodou
smiernymtekutýmsaponátom.
Pravidelnekontrolujtetesneniadverí
avyutierajteich,abyboličistéabez
zvyškovpotravín.
Opláchniteadôkladneosušte.
Dbajtenato,abystenepoškodili
chladiacisystém.
Počisteníznovapripojtezariadenie
ksieťovémunapájaniu.
VÝMENAŽIAROVKY
VAROVANIE!
Výstraha!AkjeLEDžiarovkapoškodená,
NEVYMIEŇAJTEJUVLASTNORUČNE.
VprípadevýmenyLEDžiarovky
osoboubezpríslušnejkvalikáciehrozí
nebezpečenstvozraneniaamohloby
dôjsťkvážnymporuchám.
LEDžiarovkamusíbyťvymenená
odborníkom,abysapredišloškode.
Obráťtesanamiestneservisné
stredisko.
SWB61501DG-SWE61501DG_Wine_cellar_AEG_CZ_DA_EN_FI_FR_IT_NO_PL_RU_SK_SV_UK.indd 136 2017-06-28 10:06:15

Table of Contents

Related product manuals