EasyManua.ls Logo

AEG SWB61501DG - Skötsel Och Underhåll

AEG SWB61501DG
Print Icon
To Next Page IconTo Next Page
To Next Page IconTo Next Page
To Previous Page IconTo Previous Page
To Previous Page IconTo Previous Page
Loading...
150 www.electrolux.com
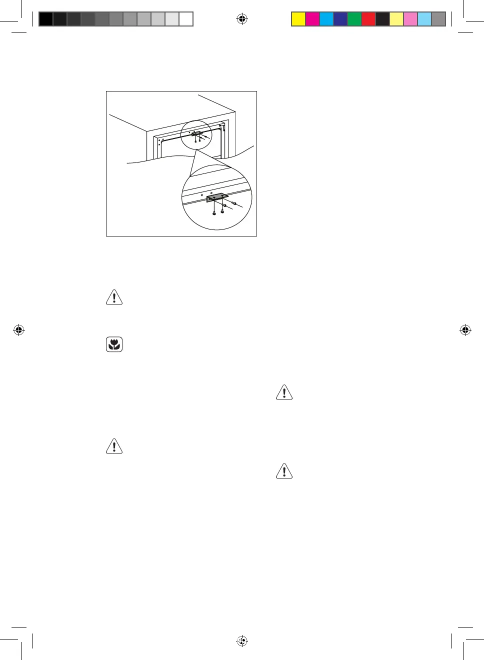
INSTALLERADETÖVREFÄSTET
Användtvåskruvarförattinstalleradet
övrefästetpåtoppenavvinkylen,för
sedaninvinkyleniskåpetochanvänd
tvåskruvarförattxeradetövrefästet
påskåpet.Sebildnedanförreferens.
VARNING!
Kopplalossproduktenfrån
eluttagetinnanduutförnågon
formavunderhåll.
Kylenhetenidennaprodukt
innehållerkolväten.Underhåll
ochpåfyllningfårdärförendast
utförasavenauktoriserad
servicetekniker.
REGELBUNDENRENGÖRING
Utrustningenmåsterengörasmedjämna
mellanrum:
Draintei,yttainteochundvik
attskadarörledningarnaoch
kablarnainneikylskåpet.
Användaldrigskarpa
rengöringsmedel,skurpulver,
parfymeraderengöringsprodukter
ellervaxpolermedelföratt
rengörakylen/fryseninvändigt
eftersomsådanaprodukter
skadarytnishenochefterlämnar
enstarklukt.
Tvättainsidansytormedvarmtvatten
ochbikarbonatlösning.Lösningenbör
beståavca2matskedarbikarbonat
ochenlitervatten.
SKÖTSELOCHUNDERHÅLL
Vriduröverblivetvattenursvampen
ellertrasaninnandurengörkontroller
ellerelektriskadelar.
Tvättavinkylensutsidamedvarmtvat-
tenochmiltytanderengöringsmedel.
Inspekteraregelbundetdörrtätningarna
ochtorkademrenafråneventuell
smuts.
Sköljavochtorkanoggrant.
Varförsiktigsåattduinteskadar
kylsystemet.
Anslutproduktentilleluttagetigenefter
rengöringen
BYTEAVGLÖDLAMPAN
VARNING!
VARNING!OmLED-lampanärtrasig
SKADUINTEBYTADENSJÄLV.
OmLED-lampanbytsavenicke
kvaliceradpersonnnsriskför
skadaochfelpåprodukten.
LED-lampanmåstebytasavenexpert
förattförhindraskada.Kontaktadin
lokalaserviceavdelning.
SWB61501DG-SWE61501DG_Wine_cellar_AEG_CZ_DA_EN_FI_FR_IT_NO_PL_RU_SK_SV_UK.indd 150 2017-06-28 10:06:18

Table of Contents

Related product manuals