EasyManua.ls Logo

AEG SWB61501DG - Cura E Manutenzione

AEG SWB61501DG
Print Icon
To Next Page IconTo Next Page
To Next Page IconTo Next Page
To Previous Page IconTo Previous Page
To Previous Page IconTo Previous Page
Loading...
80 www.electrolux.com
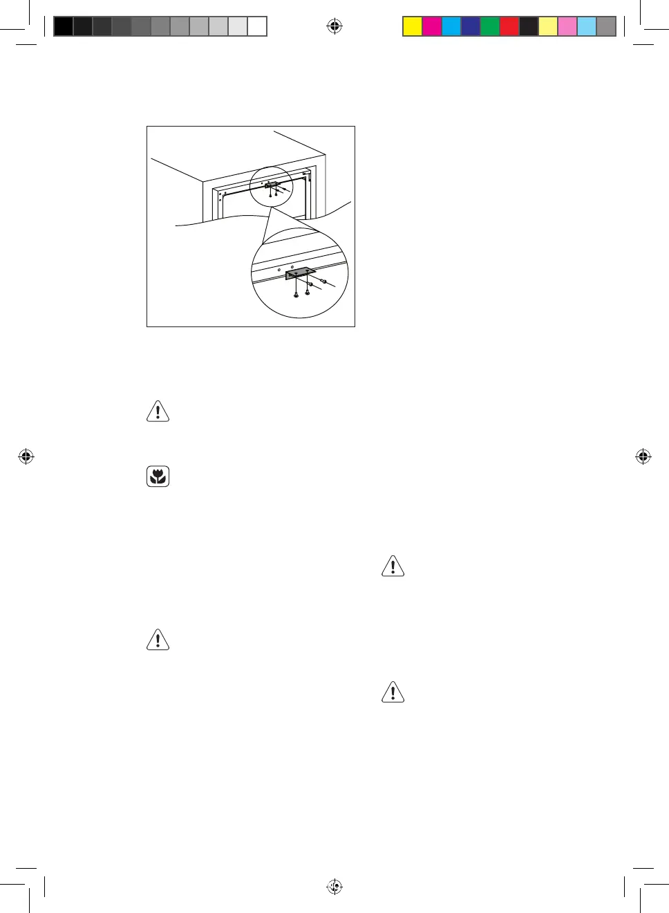
INSTALLAZIONEDELLASTAFFASUPERIORE
Utilizzareduevitiperinstallarelastaffa
superioresullasommitàdellacantina,
quindispingerlanell'unitàeusarele
duevitiperssarelastaffasuperiore
aquest'ultima.Fareriferimentoal
disegnosottostante.
ATTENZIONE!
Primadiqualsiasiinterventodi
manutenzione,estrarrelaspina
dallapresa.
Questaapparecchiatura
contieneidrocarburinell’unità
diraffreddamento,pertantole
operazionidimanutenzionee
ricaricadevonoessereeseguite
esclusivamentedapersonale
autorizzato.
PULIZIAPERIODICA
L'apparecchiaturadeveesserepulita
regolarmente:
Evitareditirare,spostare
odanneggiaretubie/ocavi
all'internodell'apparecchiatura.
Perlapuliziadellepartiinterne,
nonusaremaidetergenti,polveri
abrasive,prodotticonforti
profumazioniocerelucidanti,
chepotrebberodanneggiare
lasupercieelasciareunodore
intenso.
Lavarelesuperciinternecon
unasoluzionediacquatiepida
ebicarbonato.Lasoluzionedeve
contenerecirca2cucchiaidi
bicarbonatoinunquartod'acqua.
CURAEMANUTENZIONE
Eliminarel'acquaineccessodalla
spugnaodalpannoquandosipulisce
l'areadeicomandioqualsiasiparte
elettrica.
Lavarelaparteesternadellacantina
conacquatiepidamiscelataaun
detergenteneutro.
Ispezionareregolarmenteleguarnizioni
dellaportaedeliminareconunpanno
umidotraccedisporcoeresidui.
Risciacquareeasciugare
accuratamente.
Prestareattenzioneanon
danneggiareilsistema
refrigerante.
Dopolapulizia,ricollegare
l'apparecchiaturaallareteelettrica.
SOSTITUZIONEDELLA
LAMPADINA
AVVERTENZA!
Avvertenza!SelalampadinaaLED
èguasta,NONSOSTITUIRLADASOLI.
SelalampadinaaLEDvienesostituita
daunapersonanonqualicata,
vièilrischiodilesioniegravi
malfunzionamenti.
LalampadinaaLEDdeveessere
sostituitadaunapersonaqualicata
ingradodievitaredanni.Contattare
ilCentrodiAssistenzalocale.
SWB61501DG-SWE61501DG_Wine_cellar_AEG_CZ_DA_EN_FI_FR_IT_NO_PL_RU_SK_SV_UK.indd 80 2017-06-28 10:06:04

Table of Contents

Related product manuals