EasyManua.ls Logo

Agria 5300 - Page 46

Agria 5300
68 pages
Print Icon
To Next Page IconTo Next Page
To Next Page IconTo Next Page
To Previous Page IconTo Previous Page
To Previous Page IconTo Previous Page
Loading...
5
Maintenance and Repair
46
Meadow mower agria 5300
Municipal cutter bar
Switch off the engine
Pull off the sparking-plug connector
Wear protective gloves
Removing the mower knife
Using the lever provided, lift the
rocker arm off the driver pins (4) and
swing it sideways outside the knife
Pull out the cutter bar from the
front
Clean the cutter bar and lightly
lubricate it with organic lubricating
oil
Put down the mower knives only
when they are in the knife protection bar
Installing the mower knives
The assembly is carried out in re-
verse order
Maintenance
Lubricate the lubricating nipple (11)
with organic grease after each mow-
ing and/or after the cutter bar has
been cleaned with a water spray,
but at least after every 8 operating
hours.
With new rocker arm guides, addi-
tionally lubricate once after approx.
1 hour of operation
After each knife change and after
every 8 hours of operation, apply
some organic grease to the driver
pins (4) of the mower knife
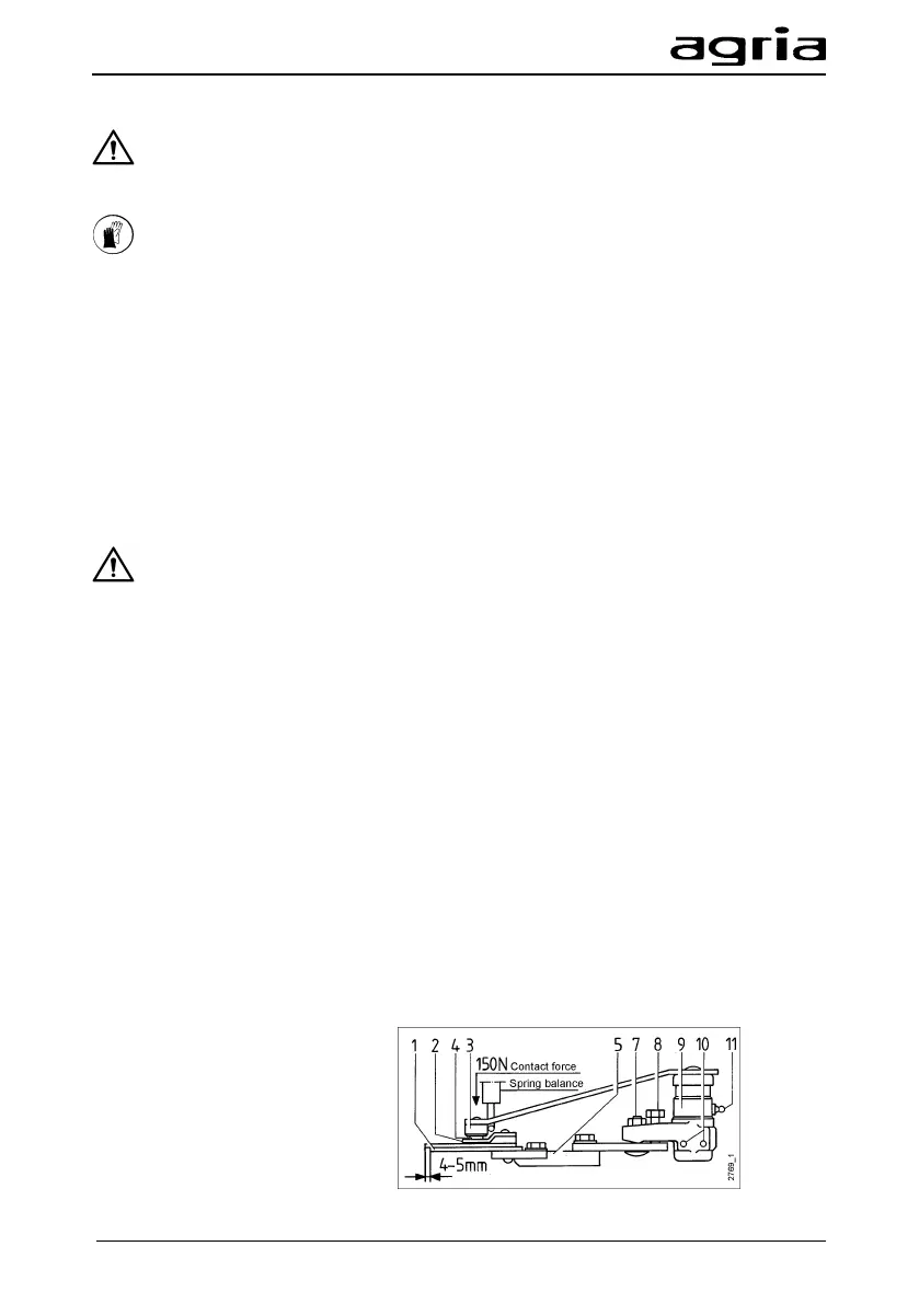
Adjusting the knife guide
After every 25 operating hours, check the contact pressure of the rocker arms
(approx. 150 N) with a commercially available spring balance
To increase or readjust the contact pressure of the rocker arms:
- Slightly loosen the 2 fixing screws (7) of the bearing bodies
- Actuate the adjusting screws (8) to adjust to the correct contact pressure of
about 150 N. Subsequently, tighten the 2 fixing screws (7).
- Whenever you loosen the screws (7), make sure that the bearing body (9) is
at right angles to the back of the beam (5)
- Also make sure that the projection of the knife blade tips in relation to the
beam knives is about 4 ... 5 mm in the centre position
The driver sleeve (3) and/or the driver pin (4) must be replaced if the play be-
tween these two parts is larger than 2 mm or if the driver sleeve (3) comes into
contact with the pin carrier (2)
When fitting new clamping sleeves (10), make sure that the slots always point
to the outside!
1 Beam knife
2 Pin carrier
3 Driver sleeve
4 Driver pin
5 Back of the beam
7 F
ixing screw
8 Adjusting screw

Related product manuals