EasyManua.ls Logo

Alber e-motion DuoDrive - Page 2

Default Icon
21 pages
Print Icon
To Next Page IconTo Next Page
To Next Page IconTo Next Page
To Previous Page IconTo Previous Page
To Previous Page IconTo Previous Page
Loading...
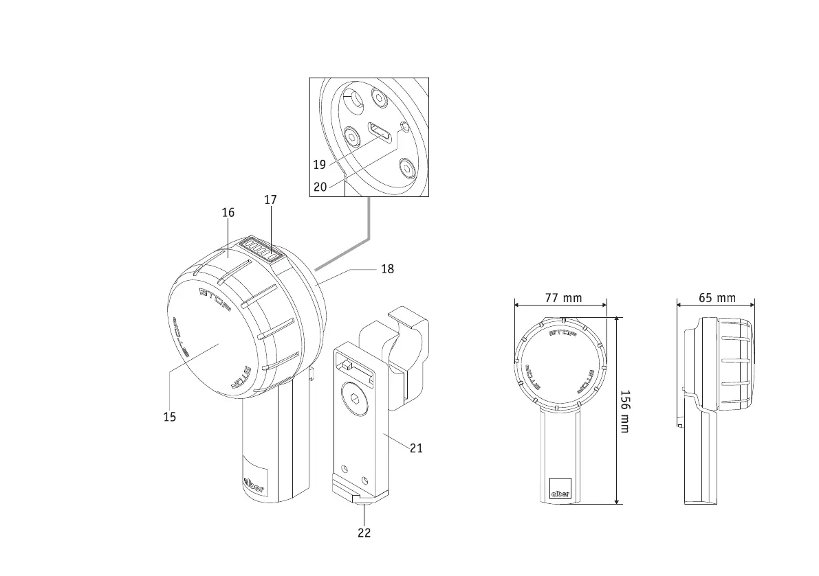
Bedieneinheit
Ein/Aus Taster 15
Geschwindigkeitswahlrad 16
Anzeige Bedieneinheit 17
Abdeckung USB-C Buchse 18
Ladebuchse USB-C 19
Pairing-Taste 20
Halteplatte 21
Arretierung 22

Related product manuals