EasyManua.ls Logo

Alfa Laval SRC - Page 37

Alfa Laval SRC
54 pages
Print Icon
To Next Page IconTo Next Page
To Next Page IconTo Next Page
To Previous Page IconTo Previous Page
To Previous Page IconTo Previous Page
Loading...
35
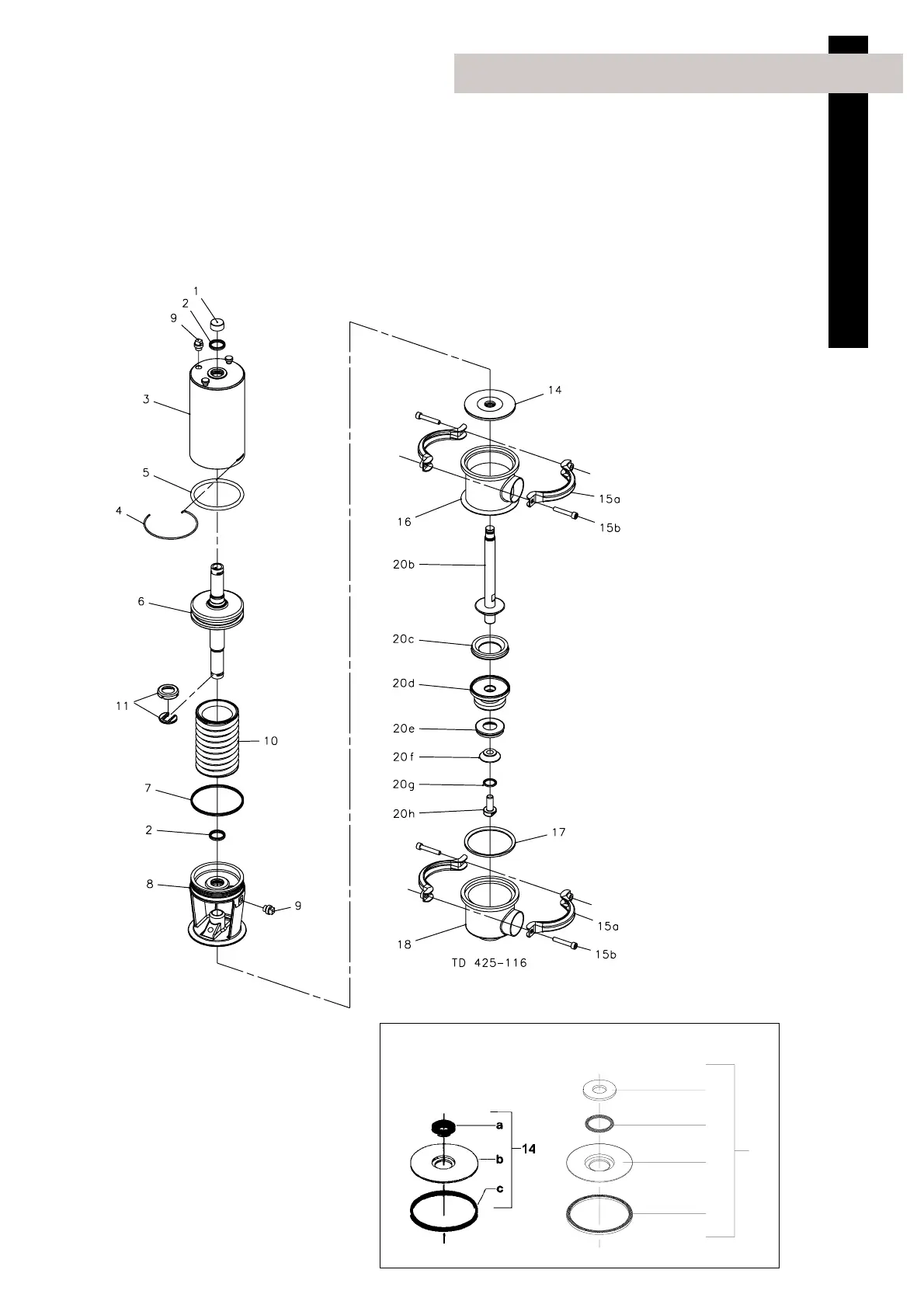
This page shows an exploded drawing of SRC, change-
over valve 38mm - 101.6mm.
The drawing includes all items of the valve.
They are identical with the items in the Spare Parts List.
Exploded drawing
Drawing/Parts list
14
d
e
f
g
Alternatives Stem seal
Parts for FEP seal

Related product manuals