EasyManua.ls Logo

Alliance Laundry Systems DCB50EG - Page 93

Alliance Laundry Systems DCB50EG
101 pages
Print Icon
To Next Page IconTo Next Page
To Next Page IconTo Next Page
To Previous Page IconTo Previous Page
To Previous Page IconTo Previous Page
Loading...
96 M411429
Section 6 Adjustments
© Copyright, Alliance Laundry Systems LLC DO NOT COPY or TRANSMIT
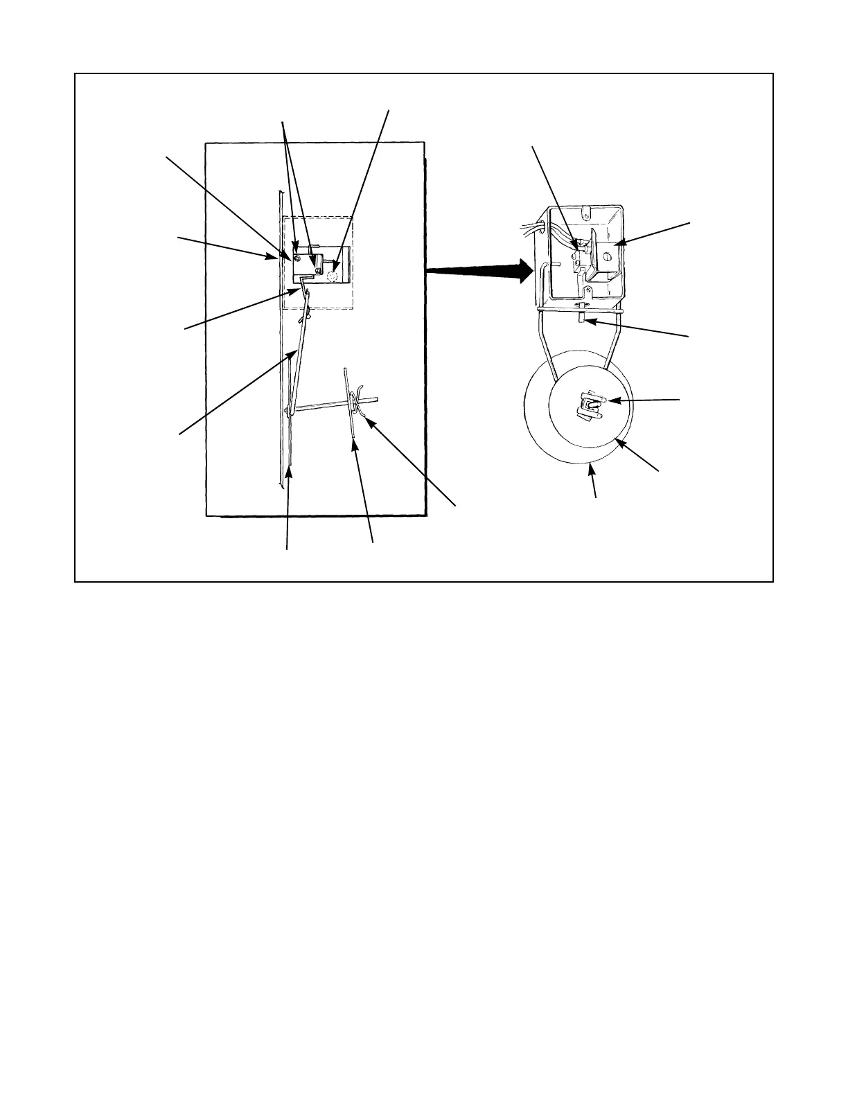
Figure 42
SWITCH
ADJUSTING
SCREWS
SCREW
AIRFLOW
SWITCH
REAR PANEL
OF TUMBLER
SWITCH
LEVER
VANE
LEVER
ARM
DISC
COUNTER
WEIGHT
SPRING
CLIP
DISC
COUNTER
WEIGHT
SPRING
CLIP
SWITCH
LEVER
MOUNTING
BRACKET
AIRFLOW
SWITCH
TU050-SV

Table of Contents