Home
Alliance Laundry Systems
Washer
WF150
Page 28 (Mounting Bolt Hole Locations for Machines, WF305, IWF305, IWF075, CWF305, CWF075)
Alliance Laundry Systems WF150 - Mounting Bolt Hole Locations for Machines, WF305, IWF305, IWF075, CWF305, CWF075
52 pages
Manual
Save Page as PDF
To Next Page
To Next Page
To Previous Page
To Previous Page
Loading...
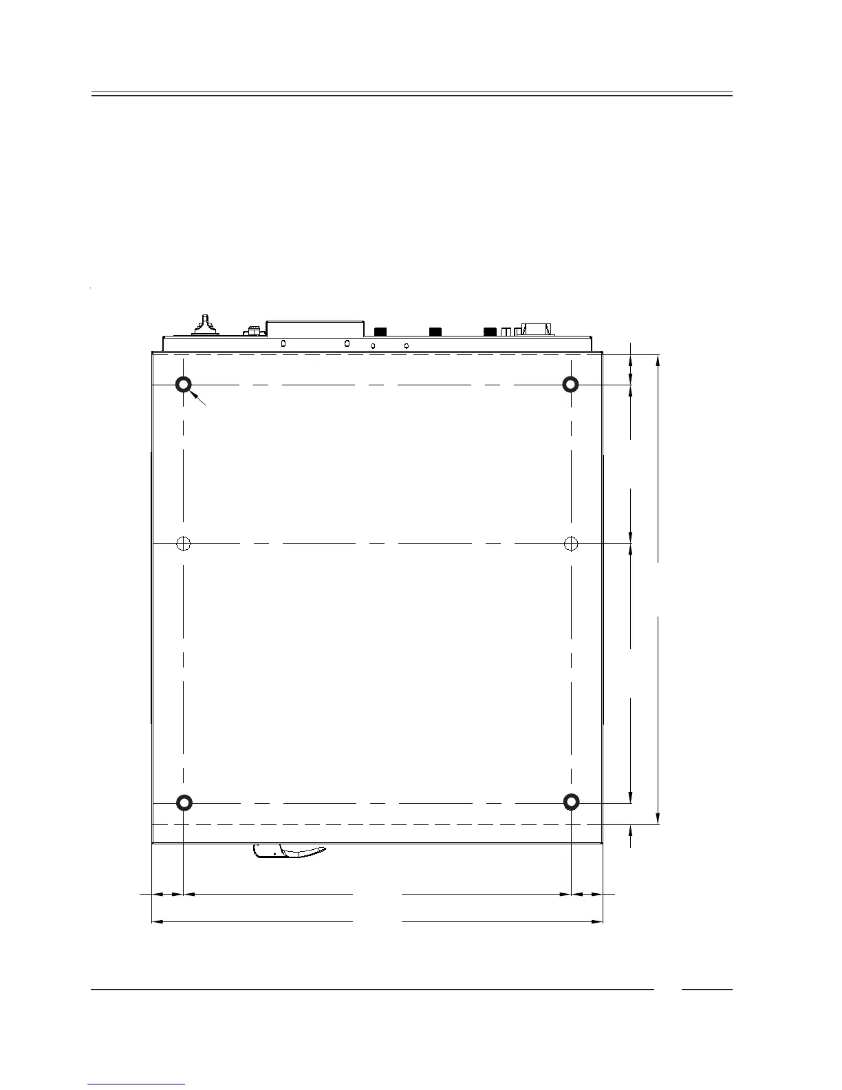
4
46 [1.81]
1030 [40.55]
990 [38.98]
70 [2.76]
70 [2.76]
850 [33.46]
570 [22.44]
347 [13.66]
67 [2.64]
Ø30 [Ø1.18]
28
Mountin
g Bolt Hole L
ocations for m
achines, WF305, IWF305, IWF075, CWF305,
CWF075
Legend: metric mm [inches]
27
29
Table of Contents
Main Page
Default Chapter
3
Table of Contents
3
1 Model Numbers
6
2 Safety and Environmental Informations
8
Safety
8
Environmental
9
Explanation of Safety Messages
10
Important Safety Instructions
11
Save These Instructions
12
Operator Safety
13
3 Technical Data and Dimensions
14
Technical Data WF150, IWF150, IWF033, CWF033
14
Dimensions WF150, IWF150, IWF033, CWF033
15
Technical Data WF185, IWF185, IWF040, CWF185, CWF040
16
Dimensions WF185, IWF185, IWF040, CWF185, CWF040
17
Technical Data WF235, IWF235, IWF055, CWF235, CWF055
18
Dimensions WF235, IWF235, IWF055, CWF235, CWF055
19
Technical Data WF305, IWF305, IWF075, CWF305, CWF075
20
Dimensions WF305, IWF305, IWF075, CWF305, CWF075
21
Technical Data WF400, IWF400, IWF090
22
Dimensions WF400, IWF400, IWF090
23
4 Installation and Connection Instructions
24
Surface
24
Anchoring on a Metal Base
24
Directly on the Ground
24
Mounting Bolt Hole Locations for Machines, WF150, IWF150, IWF033, CWF033
25
Mounting Bolt Hole Locations for Machines, WF185, IWF185, IWF040, CWF185, CWF040
26
Mounting Bolt Hole Locations for Machines, WF235, IWF235, IWF055, CWF235, CWF055
27
Mounting Bolt Hole Locations for Machines, WF305, IWF305, IWF075, CWF305, CWF075
28
Mounting Bolt Hole Locations for Machines, WF400, IWF400, IWF090
29
Water Connection
30
Water Drain
31
Electrical Installation
32
Main Power Connection
34
Electrical Specifications WF150, IWF150, IWF033, CWF033
36
Electrical Specifications WF185, IWF185, IWF040, CWF185, CWF040
37
Electrical Specifications WF235, IWF235, IWF055, CWF235, CWF055
38
Electrical Specifications WF305, IWF305, IWF075, CWF305, CWF075
39
Electrical Specifications WF400, IWF400, IWF090
40
Liquid Soap Connection (Option)
41
Connection of a Central Operating Panel for Coin Machines (Option)
43
5 Steam Connection
44
6 Technical Remarks
45
Internal Connections of the Electrical Heating
45
7 Maintenance Instruction of the Machine
46
End of Day
46
General Maintenance
46
Periodical Maintenance
46
Annual Maintenance
47
8 Contact Information
48
Nameplate
48
9 Repair and After-Sales Service
50
Related product manuals
Alliance Laundry Systems WF240B
79 pages
Alliance Laundry Systems WF350B
20 pages
Alliance Laundry Systems WF065B
79 pages
Alliance Laundry Systems WR240B
21 pages
Washer-Extractor
112 pages
PHM1263R
64 pages
DCG020ND
186 pages
PHM1401C
82 pages
CCN020HNF
84 pages
UWL045T3V
82 pages
HFNNERSP116CW01
119 pages
Speed Queen TC5000WN
25 pages