EasyManua.ls Logo

Alpine HDA-M80 - SWITCH SETTINGS; Subsonic and LP Filter Adjustment; Bass EQ and Gain Control

Alpine HDA-M80
180 pages
Print Icon
To Next Page IconTo Next Page
To Next Page IconTo Next Page
To Previous Page IconTo Previous Page
To Previous Page IconTo Previous Page
Loading...
ALPINE HDA-M80/HDA-F60/HDA-V90 68-44781Z25-A (EN/DE/FR/ES/IT/SE/RU/CS)ALPINE HDA-M80/HDA-F60/HDA-V90 68-44781Z25-A (EN/DE/FR/ES/IT/SE/RU/CS)
8-EN
Input Gain Adjustment Control
Set the HDA-M80/HDA-F60/HDA-V90 input gain
to the minimum position. Using a dynamic CD
as a source, increase the head unit volume until
the output distorts. Then, reduce the volume 1
step (or until the output is no longer distorted).
Now, increase the amplifier gain until the sound
from the speakers becomes distorted. Reduce
the gain slightly so the sound is no longer
distorted to achieve the optimum gain setting.
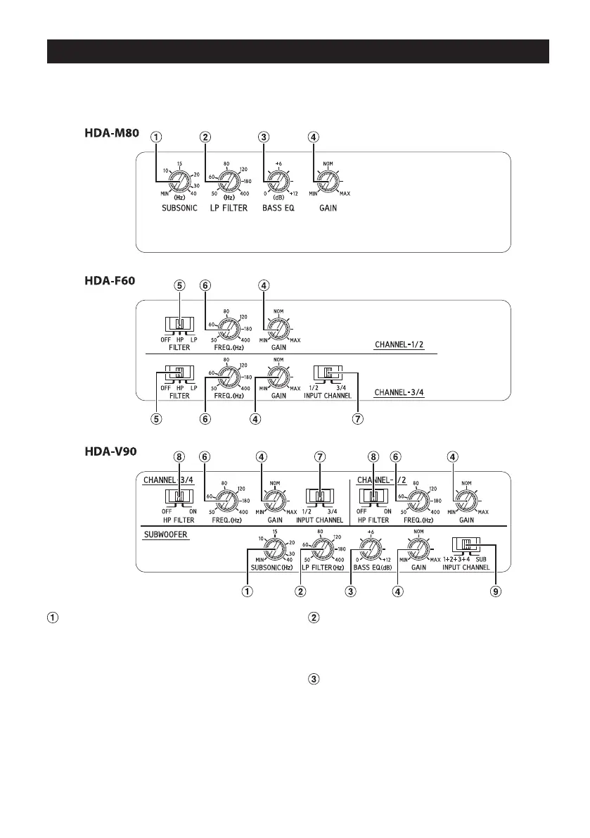
Crossover Mode Selector Switch (HDA-F60
only)
a) Set to the OFF position when the
amplifier will be used for driving
full range speakers or when using
an external electronic crossover.
The full frequency bandwidth will
be output to the speakers with no
high or low frequency attenuation.
b) Set to the “HP position when the
amplifier is used to drive a tweeter/
midrange system. The frequencies
below the crossover point will be
attenuated at 12 dB/octave.
NOTE:
In this case the maximum Bass EQ
boost level is reduced.
c) Set to the “LP position when the
amplifier is used to drive a
subwoofer. The frequencies above
the crossover point will be
attenuated at 12 dB/octave.
Crossover Frequency Adjustment Knob
(HDA-F60/HDA-V90 only)
Use this control to adjust the crossover
frequency between 50 and 400 Hz.
Input Channel Selector Switch (CHANNEL-3/4)
(HDA-F60/HDA-V90 only)
a) This switch setting is for selecting
either 2-channel or 4-channel input
mode. When set to “1/2”, signal will
be copied from CH-1/2 and sent to
CH-3/4, eliminating the need for
Y-adapters.
b) Setting this switch to “3/4” will keep
both inputs, CH-1/2 and CH-3/4
independent.
A 4-channel source is required for
this mode.
SWITCH SETTINGS
Before switching each Selector Switch, turn off the power and insert a small screwdriver, etc.,
perpendicularly to the Switch.
To use the top inner panel, remove the top cover. See “REMOVING THE TOP COVER” (page 3).
Subsonic Filter (HDA-M80/HDA-V90 only)
The subsonic filter for cutting ultra low
frequencies from the input signal before being
amplified.
This is desirable for several reasons:
To protect speakers too small or not capable
of reproducing ultra low frequencies.
To minimize power wasted from reproducing
inaudible sound.
To protect subwoofers in vented enclosures
from over excursion below the tuning
frequency.
Crossover Frequency Adjustment Knob
(LP FILTER) (HDA-M80/HDA-V90 only)
Use this control to adjust the crossover
frequency between 50 to 400 Hz.
Bass EQ Adjustment Knob (HDA-M80/
HDA-V90 only)
Add a 50 Hz bass boost up to +12 dB to tune
your bass response.

Related product manuals