EasyManua.ls Logo

Alpine HDA-M80 - Page 120

Alpine HDA-M80
180 pages
Print Icon
To Next Page IconTo Next Page
To Next Page IconTo Next Page
To Previous Page IconTo Previous Page
To Previous Page IconTo Previous Page
Loading...
ALPINE HDA-M80/HDA-F60/HDA-V90 68-44781Z25-A (EN/DE/FR/ES/IT/SE/RU/CS)ALPINE HDA-M80/HDA-F60/HDA-V90 68-44781Z25-A (EN/DE/FR/ES/IT/SE/RU/CS)
8-SE
Signalförstärkningskontroll
Ställ signalförstärkningen på HDA-M80/
HDA-F60/HDA-V90 i minimiläget. Använd en
CD-skiva med stor dynamik som källa och höj
ljudstyrkenivån på huvudenheten tills ljudet
förvrängs. Sänk sedan nivån 1 steg (eller mer tills
utsignalen inte längre är förvrängd). Öka nu
signalförstärkningen på slutsteget tills ljudet
från högtalarna förvrängs. Reducera sedan
signalnivån på förstärkaren så att ljudet inte
längre förvrängs. Därmed har förstärkningen
ställts in på optimal nivå.
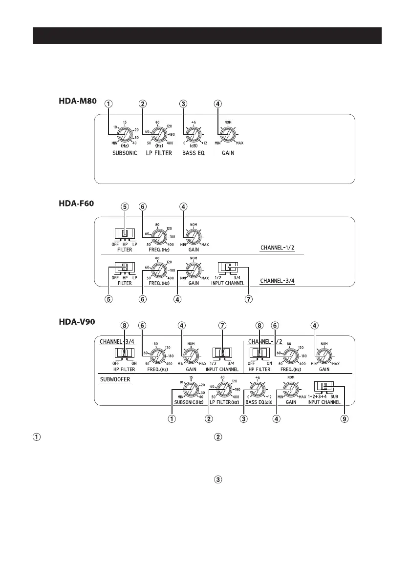
Väljare för delningsfrekvens (endast
HDA-F60)
a) Ställ i läge ”OFF när förstärkaren
ska användas till fullskalig
högtalare eller om du använder ett
externt elektroniskt delningsfilter.
Full bandbredd delas ut till
högtalarna utan att någon del av
registret dämpas.
b) Ställ i läge ”HP när förstärkaren
driver diskant-/
mellanregisterhögtalare.
Frekvenserna nedanför delnings-
frekvensen dämpas med 12 dB/
oktav.
OBSERVERA:
I detta fall reduceras maximal
förstärkningskapacitet för bas-EQ.
c) Ställ i läge ”LP när förstärkaren
driver en subwoofer. Frekvenserna
ovanför delningsfrekvensen
dämpas med 12 dB/oktav.
Kontroll för delningsfrekvens (endast
HDA-F60/HDA-V90)
Använd denna kontroll för att justera
delningsfrekvensen mellan 50 och 400 Hz.
Väljare för ingångssignal (CHANNEL-3/4)
(endast HDA-F60/HDA-V90)
a) Med denna väljare kan
ingångsläget ställas till antingen
tvåkanals eller fyrakanals. När
inställningen är ”1/2” kopieras
ingångssignalen från CH-1/2 och
skickas till CH-3/4 utan att
y-adapter behöver användas.
b) Med inställningen ”3/4” är båda
ingångskanalerna (CH-1/2 och
CH-3/4) frikopplade från varandra.
För detta läge krävs en
fyrakanalskälla.
VÄLJARINSTÄLLNINGAR
Före inställning av väljare ska du bryta strömmen och föra in en mindre skruvmejsel eller liknande
vinkelrätt mot väljaren.
Använd den övre inre panelen genom att först ta bort övre höljet. Se ”TA BORT ÖVRE HÖLJET
(sidan 3).
Högpassfilter (endast HDA-M80/HDA-V90)
Med högpassfiltret ska ultralåga frekvenser
filtreras bort från ingångssignalen innan den
förstärks.
Detta är önskvärt av flera anledningar:
För att skydda högtalare med för litet
omfång eller utan kapacitet att reproducera
ultralåga frekvenser.
För att minimera energiåtgång till
reproducering av ohörbart ljud.
För att skydda subwooferenheter med
ventilerad låda mot avvikelser under
frekvensområdet.
Kontroll för delningsfrekvens
(LP FILTER) (endast HDA-M80/HDA-V90)
Använd denna kontroll för att justera
delningsfrekvensen mellan 50 och 400 Hz.
Basens equalizerreglage (EQ) (endast
HDA-M80/HDA-V90)
Komplettera med en basförstärkare på 50 Hz
upp till +12 dB för att få den basstyrka du
behöver.

Related product manuals