EasyManua.ls Logo

Alpine HDA-M80 - Page 164

Alpine HDA-M80
180 pages
Print Icon
To Next Page IconTo Next Page
To Next Page IconTo Next Page
To Previous Page IconTo Previous Page
To Previous Page IconTo Previous Page
Loading...
ALPINE HDA-M80/HDA-F60/HDA-V90 68-44781Z25-A (EN/DE/FR/ES/IT/SE/RU/CS)ALPINE HDA-M80/HDA-F60/HDA-V90 68-44781Z25-A (EN/DE/FR/ES/IT/SE/RU/CS)
8-CS
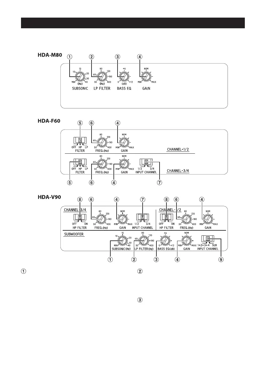
输入增益调节控件
HDA-M80/HDA-F60/HDA-V90输入增益
设置到最小位置。使用动态CD作为源,
增加主机音量,直到输出失真。然后,
降低1级音量(或直到输出不再失真)。
现在,增加放大器增益,直到扬声器发
出的声音失真。稍微降低增益,使声音
不再失真,以达到最佳增益设置。
分频器模式选择开关(仅HDA-F60
a) 当放大器用于驱动全范围扬声
器或使用外部电子分频器时,
设置为“OFF”位置。全频率
带宽将输出至扬声器,无高频
或低频衰减。
b) 当放大器用于驱动高频扬声
/中频系统时,设置为
HP”位置。低于分频点的频
率将以12 dB/倍频程衰减。
注:
在此情况下,最大低音EQ
压电平降低。
c) 当放大器用于驱动超低频扬声
器时,设置为“LP”位置。高
于分频点的频率将以12 dB/
频程衰减。
分频器频率调节旋钮(仅HDA-F60/
HDA-V90
使用此控件在50400 Hz之间调整分频器
频率。
输入声道选择开关(CHANNEL-3/4
(仅HDA-F60/HDA-V90
a) 此开关设置用于选择2声道或4
声道输入模式。当设置为
1/2”时,信号将从CH-1/2
复制并发送到CH-3/4,无需Y
形适配器。
b) 将此开关设置为“3/4”将使
CH-1/2CH-3/4两个输入保持
独立。
此模式需要4声道源。
开关设置
在切换每个选择开关之前,请关闭电源并将小螺丝刀等垂直插入开关。
若要使用顶部内板,请拆下顶盖。请参阅“拆卸顶盖”(第3页)。
亚音速滤波器(仅HDA-M80/HDA-V90
亚音速滤波器用于在放大之前从输入信
号中去除超低频。
因以下原因需要此操作:
保护太小或无法再现超低频的扬声
器。
尽量减少因再现听不见的声音而浪费
的功率。
保护通风外壳中的超低频扬声器不受
低于调谐频率过度偏移的影响。
分频器频率调节旋钮(LP FILTER)(仅
HDA-M80/HDA-V90
使用此控件在50400 Hz之间调整分频器
频率。
低音EQ调节旋钮(仅HDA-M80/
HDA-V90
增加高达+12 dB50 Hz低音增强,以调
整低音响应。

Related product manuals