EasyManua.ls Logo

Alpine HDA-M80 - Advanced Connection Techniques; Speaker-RCA Conversion Cable Usage; Bridging Amplifier Tips

Alpine HDA-M80
180 pages
Print Icon
To Next Page IconTo Next Page
To Next Page IconTo Next Page
To Previous Page IconTo Previous Page
To Previous Page IconTo Previous Page
Loading...
ALPINE HDA-M80/HDA-F60/HDA-V90 68-44781Z25-A (EN/DE/FR/ES/IT/SE/RU/CS)ALPINE HDA-M80/HDA-F60/HDA-V90 68-44781Z25-A (EN/DE/FR/ES/IT/SE/RU/CS)
17-EN
EN
ES
DE
IT
RU
FR
SE
CS
4 Speaker + Dual Voice Coil Subwoofer System
Refer to “4 Speaker + Subwoofer System (page 15).
Parallel connection Series connection
* In the case of using a series connection, the lead wire of the Dual Voice Coil Subwoofer ( ) can be
connected to either the (+)/(-) terminal of the Speaker Connector ( ).
2 Speaker + 2 Subwoofer (MONO) System (Bridged Connections)
Refer to “4 Speaker + Subwoofer System (page 15).
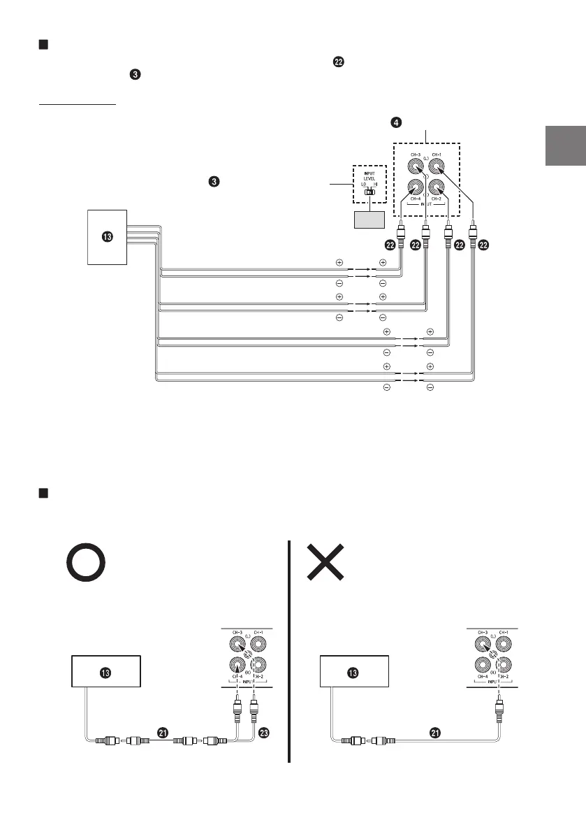
About Connecting to the Speaker Input Level System
When connecting by using the Speaker-RCA Conversion Cable ( ) (sold separately), switch the Speaker
Input Level Switch ( ) to “HI”.
e.g HDA-F60
RCA Input Jacks
Speake Input Level Switch
Rear Speaker output lead (R)
Rear Speaker output lead (L)
Front Speaker output lead (R)
Front Speaker output lead (L)
[HI]
Do not mistake the Speaker Output Lead on the head unit side connected to this unit.
Front Speaker output (L)/(R) to CH1/CH2, Rear Speaker output (L)/(R) to CH3/CH4
For the “Speaker Input Level System setting, connecting the Remote Turn-On Lead is not required due to
the “REMOTE SENSING” function of this product. However, the “REMOTE SENSING” function may not work
depending on the signal source connected. In such a case, connect the Remote Turn-On Lead to an
incoming power supply cord (accessory power) in the ACC position.
Important Tips on Bridging an Amplifier
Low output will result if only one channel input is used. The Y-adapter is not required if a stereo/mono pair
line output is used to drive both inputs of the bridged amp.
Proper connection
One signal One signal
Improper connection

Related product manuals