EasyManua.ls Logo

Amano CP-3000 - Product Overview and Components

Amano CP-3000
76 pages
Print Icon
To Next Page IconTo Next Page
To Next Page IconTo Next Page
To Previous Page IconTo Previous Page
To Previous Page IconTo Previous Page
Loading...
1-2
CP-3000 User’s Guide
Accessories
The following accessories are provided with the Amano CP-3000. After
unpacking, please ensure that all of the following items are provided:
CP-3000 (1 unit)
This User’s Guide (1
copy)
Keys (one pair, 2
keys)
Please note that specifications, appearance, and/or description are
subject to change without notice due to product enhancements.
This user’s guide has been carefully prepared, but Amano assumes
no liability for errors and/or omissions. If you should find any errors
or unclear information, please contact your Amano dealer.
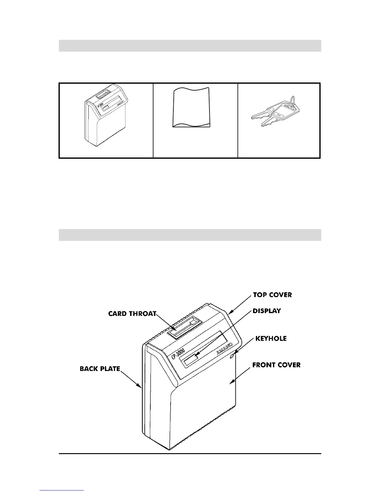
Names and Functions of Parts
The following describes the names and functions of various parts of the
CP-3000.
External View
User’s
Guide

Table of Contents

Related product manuals