EasyManua.ls Logo

Ambit PIB v1.5 - Page 18

Ambit PIB v1.5
72 pages
Print Icon
To Next Page IconTo Next Page
To Next Page IconTo Next Page
To Previous Page IconTo Previous Page
To Previous Page IconTo Previous Page
Loading...
Section 1 • Introduction
14
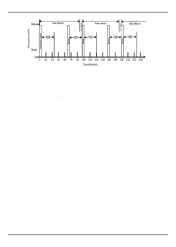
Figure1-6
Doseandbolus(P+Pmode)infusionpatternofmultipledosedelays
(doesnotapplytothe
PIB-IL v1.5)
Each time a dose is delayed, it is added to the previous delays. In Figure 1-6, the second dose
isdelayedbyabout10minutes(rstdosedelay),from90minutesto100minutes.Thismeans
that the third dose should have occurred at 190 minutes, but due to the second delay of a little
over 5 minutes (second dose delay), the third dose occurs at a little over 195 minutes. If no
otherdelaysoccur,thenalltheremainingdoseswillbedelayedbythesumoftherstand
second dose delays, or a little over 15 minutes.
NOTE: Figure 1-5 does not apply to the PIB-IL v1.5pump;seeFigure1-7andFigure1-8
for PIB-IL v1.5 P+P infusion pattern.

Table of Contents

Related product manuals