EasyManua.ls Logo

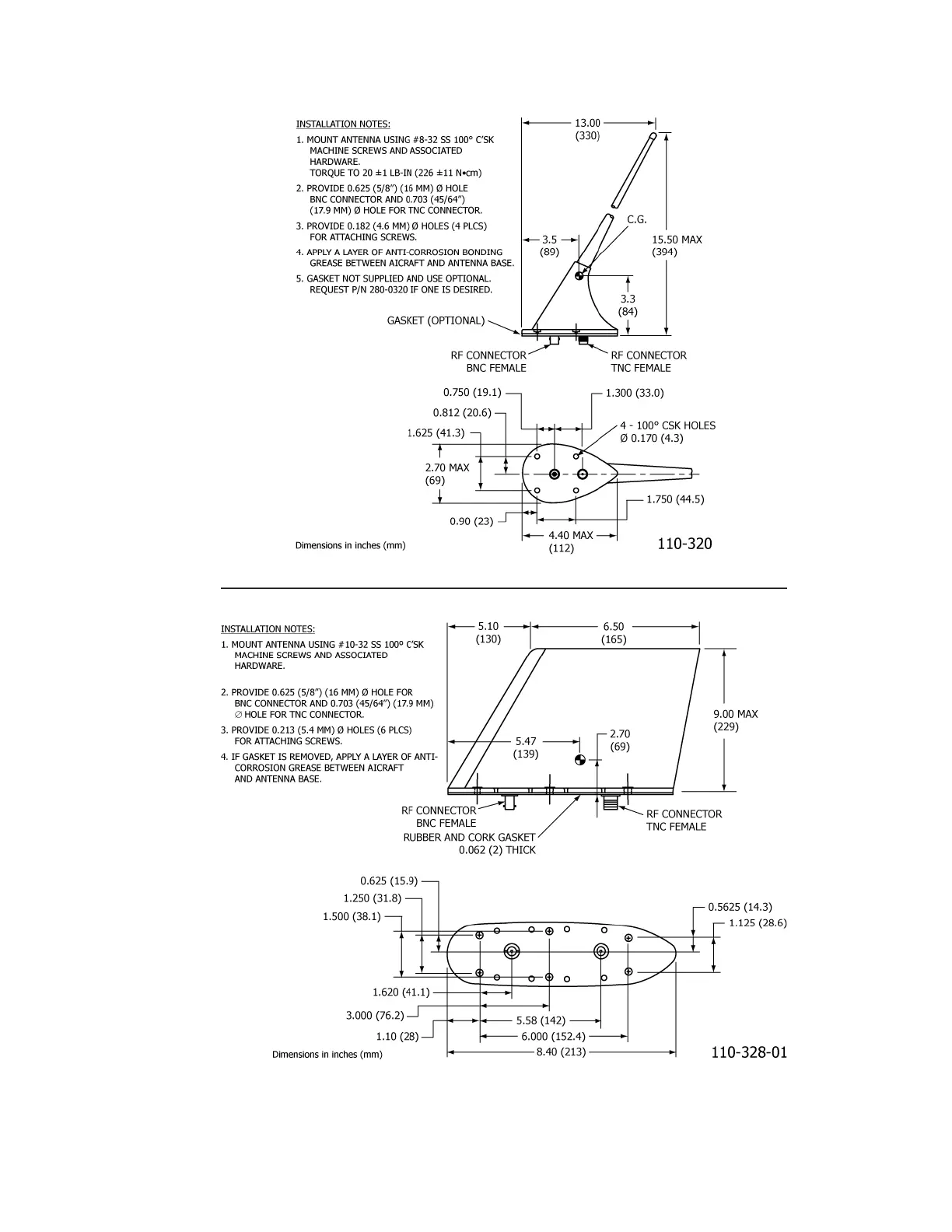
ARTEX B406-4 - Figure 15 Rod Antenna 110-320 and Blade Antenna 110-328-01 Outlines and Dimensions

ARTEX B406-4
70 pages
Print Icon
To Next Page IconTo Next Page
To Next Page IconTo Next Page
To Previous Page IconTo Previous Page
To Previous Page IconTo Previous Page
Loading...
ARTEX PRODUCTS / ACR ELECTRONICS, INC
DESCRIPTION, OPERATION, INSTALLATION AND MAINTENANCE MANUAL
B406-4 (453-5004)
Page 47 of 70
25-62-03
Figure 15 Rod Antenna 110-320 and Blade Antenna 110-328-01 Outlines and Dimensions

Table of Contents

Related product manuals