EasyManua.ls Logo

Astralpool 78550 - 4.2.2 Starting up and shutting down

Astralpool 78550
31 pages
Print Icon
To Next Page IconTo Next Page
To Next Page IconTo Next Page
To Previous Page IconTo Previous Page
To Previous Page IconTo Previous Page
Loading...
4. USAGE AND OPERATION
15
ON Eco.heating
Inlet temp.: 25.0
Ou t l e t te mp .: 25 . 0
31/03/2011 09:10 THU.
ON Heating
Inlet temp.: 25.0
Outlet temp.: 25.0
31/03/2011 09:10 THU.
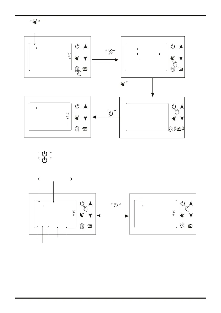
Press at clock interface, the screen shows as follow:
Both are OK when system shows ON or OFF
Press
to enter
Press
releva
Press
to exit
ON Eco.heating
Inlet temp.:
Outlet temp.:
25.0
25.0
31/03/2011 09:10 THU.
4.2.2
Starting up and shutting down
Press in the shutdown state for 1s to start up the system;
Press in the startup state for 1s to shut down the system.
For example
MODE
By actual state
Running state
OFF Heating
Inlet temp.: 25.0
Press
for 1s
Outlet temp.: 25.0
31/03/2011 09:10 THU.
Date Year Time Week
Month
In the shutdown state
In the startup state
Date 31/01/2011
Time 05 55
Week Thursday
Timer
Date format
to show
nt button function
1. Up or down arrow
selects items
2. Clock key changes
status
3. On/off key exits

Related product manuals