EasyManua.ls Logo

Astralpool 78550 - 4.3 The operation of mode switching; 4.4 The operation of system state checking

Astralpool 78550
31 pages
Print Icon
To Next Page IconTo Next Page
To Next Page IconTo Next Page
To Previous Page IconTo Previous Page
To Previous Page IconTo Previous Page
Loading...
4. USAGE AND OPERATION
16
ON Cooling
Inlet temp.:
25.0
Ou t let tem p . : 25. 0
31/03/2011 09:10 THU.
ON Eco.heating
Inlet temp.: 25.0
Ou t let tem p .: 25. 0
31/03/2011 09:10 THU.
4.3
The operation of mode switching
At main interface, you can switch modes of cooling, economic heating, heating, rapid
heating by pressing . Or switch modes of cooling, economic heating and automatic.
The different unit gets different mode types.
Attention the operation of mode is invalid when the unit you buy is cooling only or heating only.
For example
Mode Mode
Press
to switch
modes
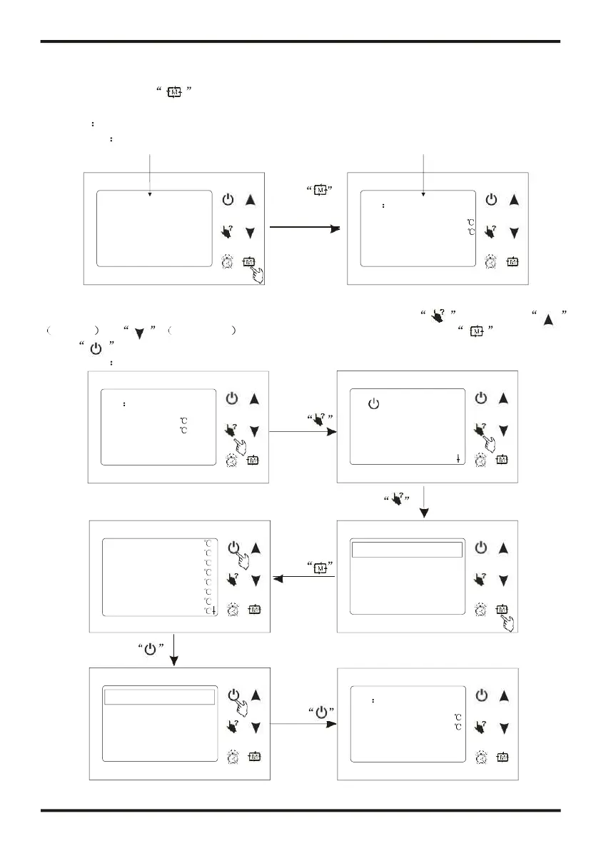
4.4
The operation of system state checking
At any interface, you can enter system working state by pressing twice, press
pageup or pagedown to select the needing parameter, press to enter, and
press to exit.
For example
ON Cooling
Inlet temp.:25.0 Outlet
temp.:25.0
31/03/2011 09:10 THU.
1.
Pressing this key couldturn
on/off the unit, cancel the
current operation or return to
the former interface.
Temperature
Switch Output
T01 Inlet water 25.0
T02 Outlet water 25.0
T03 Coil 1 30.5
T04 Coil 2 32.5
T05 Ambient 23.5
T06 Deice 1 4.5
T07 Deice 2 4.5
T08 Suction 1 20.5
Temperature
Switch Output
ON Cooling
Inlet temp.: 25.0
Outlet temp.: 25.0
31/03/2011 09:10 THU.
Press
Press
Press
Press
Press

Related product manuals