EasyManua.ls Logo

Astralpool 78550 - MAINTENANCE AND INSPECTION; 5.1 Malfunction table

Astralpool 78550
31 pages
Print Icon
To Next Page IconTo Next Page
To Next Page IconTo Next Page
To Previous Page IconTo Previous Page
To Previous Page IconTo Previous Page
Loading...
4. USAGE AND OPERATION
24
4.8
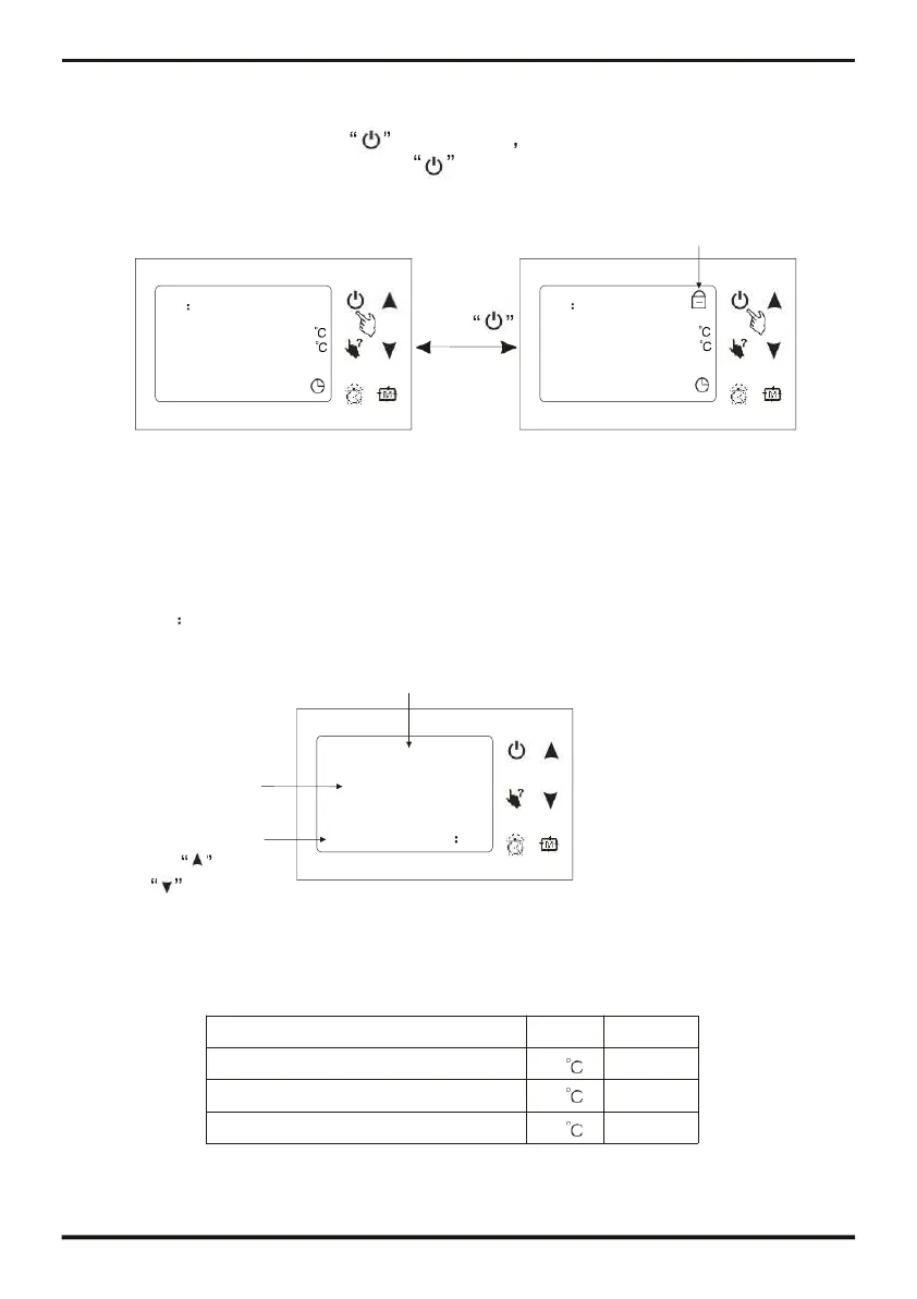
Keyboard lock
To avoid mis-operations, please lock the controller after parameter setting.
At the main interface, pressing for 5 seconds the keyboard will be locked.
When the keyboard is locked, pressing for 5 seconds, the keyboard will be unlocked.
Locked
ON Cooling
Inlet temp.:
25.0
Ou t let te m p.: 25.0
31/01/2011 06:55 THU.
Press
ON Cooling
Inlet temp.:
25.0
Ou t let te m p. : 25.0
31/01/2011 06:55 THU.
NOTES:
When the unit is in alarming state, the key lock can be removed automaticly.
4.9
Malfunction display
There will be malfunction code showing on the controller screen when relative malfunction occurs.
You can refer to the malfunction table to find out the failure cause and solution. For
example
Malfunction code
Malfunction
Failure number
press
or can check
next malfunction
P01
Inlet water temp.
Failure
Failure number 1
4.10
Parameter table
Meaning
Default Remarks
Set-point of cooling target temp.
27
Ajustable
Set-point of heating target temp.
27
Ajustable
Set-point of auto mode target temp.
27
Ajustable

Related product manuals