EasyManua.ls Logo

Astralpool 78550 - 4.5 The operation of parameter setting; 4.6 The operation of clock setting

Astralpool 78550
31 pages
Print Icon
To Next Page IconTo Next Page
To Next Page IconTo Next Page
To Previous Page IconTo Previous Page
To Previous Page IconTo Previous Page
Loading...
4. USAGE AND OPERATION
17
Press
to select
the needing
parameter
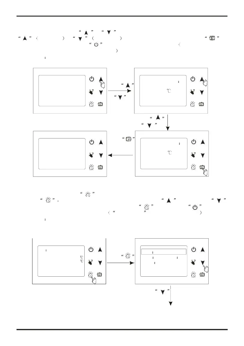
4.5
The operation of parameter setting
At main interface, press or to enter parameter setting interface, press
increasing or decreasing can change parameter value, press to
save the setting and exit . Press can not save the setting but exit. You can refer to
parameter table to set relevant temperature.
For example
4.6
The operation of clock setting
At main interface, press to enter clock setting interface, select the needing parameter
and press at this time, parameter value flashing, press (increasing)or
(Decreasing) can change parameter value, then press to save, press can cancel
the setting or back to the main interface. timer setting refer to timer operation
For example
ON Cooling
Date 31/01/2011
Inlet temp.: 25.0
Press
Time 05 55
Outlet temp.: 25.0
Week Thursday
31/01/2011 05:55 THU.
to enter clock
Timer
interface
Date format
ON Cooling
Inlet temp.:
25.0
Ou t let te m p. : 25.0
31/03/2011 09:10 THU.
Cooling set point
12.0
Cooling set point
13.0
ON Cooling
Inlet temp.:
25.0
Ou t let te m p. : 25.0
31/03/2011 09:10 THU.
Press
or
Press
or
Press
to save the
setting

Related product manuals