EasyManua.ls Logo

Astralpool 78550 - Page 22

Astralpool 78550
31 pages
Print Icon
To Next Page IconTo Next Page
To Next Page IconTo Next Page
To Previous Page IconTo Previous Page
To Previous Page IconTo Previous Page
Loading...
4. USAGE AND OPERATION
21
Timer1:07:30-22:00
Timer2:00:00-00:00
Timer3:00:00-00:00
Timer4:00:00-00:00
Date 31/01/2011
Time
05
55
Week Thursday
Timer
ce
Date format
r
Date
Time
Week
Timer
31/01/2011
05 55
Thursday
Date format
Timer zone
Daily timer
Press
Timer zone
Daily timer
to back to upper
interface
Press
to back to
upper interface
Press
to back to
upper interfa
Tips 1) The operation of Timer2, Timer3, Timer4 is the same with Timer1;
2)
Timer1 :07:30-22:00 means system starts up at 7:30, and shut down at 22:00 automaticly;
3)
If there is no operation in 10s, system will memory parameter setting automaticly.
B. The operation of daily timer
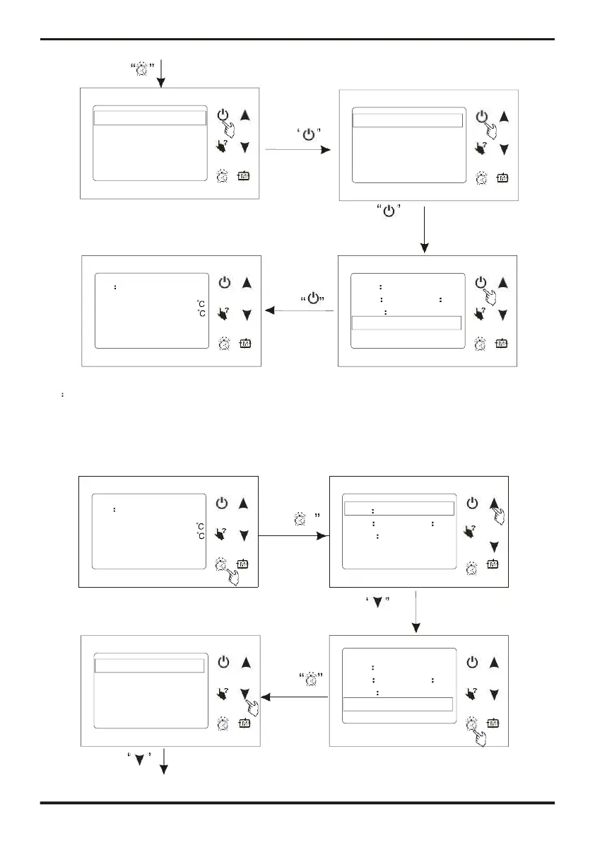
ON Cooling
Inlet temp.: 25.0 Ou tle t
te m p. : 25. 0
31/01/2011 06:55 THU.
Press
Date 31/01/2011
Time 05 55
Week Thursday
k Timer
Date format
to enter cloc
interface
Press to
select "Timer"
Press
Press
to
enter
tim
e
interface
Press
ON Cooling
Inlet temp.:
25.0
Ou t let tem p . : 25. 0
31/01/2011 06:55 THU.

Related product manuals