EasyManua.ls Logo

Atom HSP588 - Table 16: Feeder Motor and Roller Drive Parts

Atom HSP588
70 pages
Print Icon
To Next Page IconTo Next Page
To Next Page IconTo Next Page
To Previous Page IconTo Previous Page
To Previous Page IconTo Previous Page
Loading...
HSP588
Use and maintenance manual pag. 62
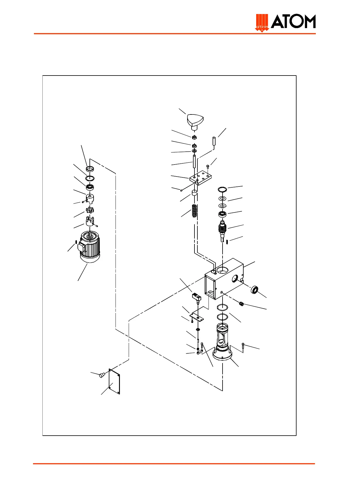
6.16 Table 16
01002922
02002031
02001329
02000012
02001326
01002924
02002227
02001344
01002924
02001336
02001346 V220/380 50Hz
02001347 V260/450 50Hz
02001348 V240/420 50Hz
02001340
02001589
02000126
02000351
01002925
01002921
02000216
01002926
01002927
02001343
02000498
02000012
02001338
02001326
01002913
02001336
01002905
02001324
02000206
02001332
02000510
0100290702000510
02001341
01002920
02000467
02000218
02000118
01002923
02001349 V220/380 60Hz
02001350 V250/440 60Hz
02001351 V320/550 60Hz