EasyManua.ls Logo

Automatic Technology GDO-11v1 Ero - Programming The Opener; Setting Limits Via Control Panel; Resetting Door Limits (Control Panel)

Automatic Technology GDO-11v1 Ero
36 pages
Print Icon
To Next Page IconTo Next Page
To Next Page IconTo Next Page
To Previous Page IconTo Previous Page
To Previous Page IconTo Previous Page
Loading...
18
GDO-11v1 Ero
®
Owner Installation Instructions
Programming The Opener
28
g
29
g
30
g
Setting Limits - Via Control Panel
NOTE: If PE Beams are to be used they must be
installed before setting the travel limits.
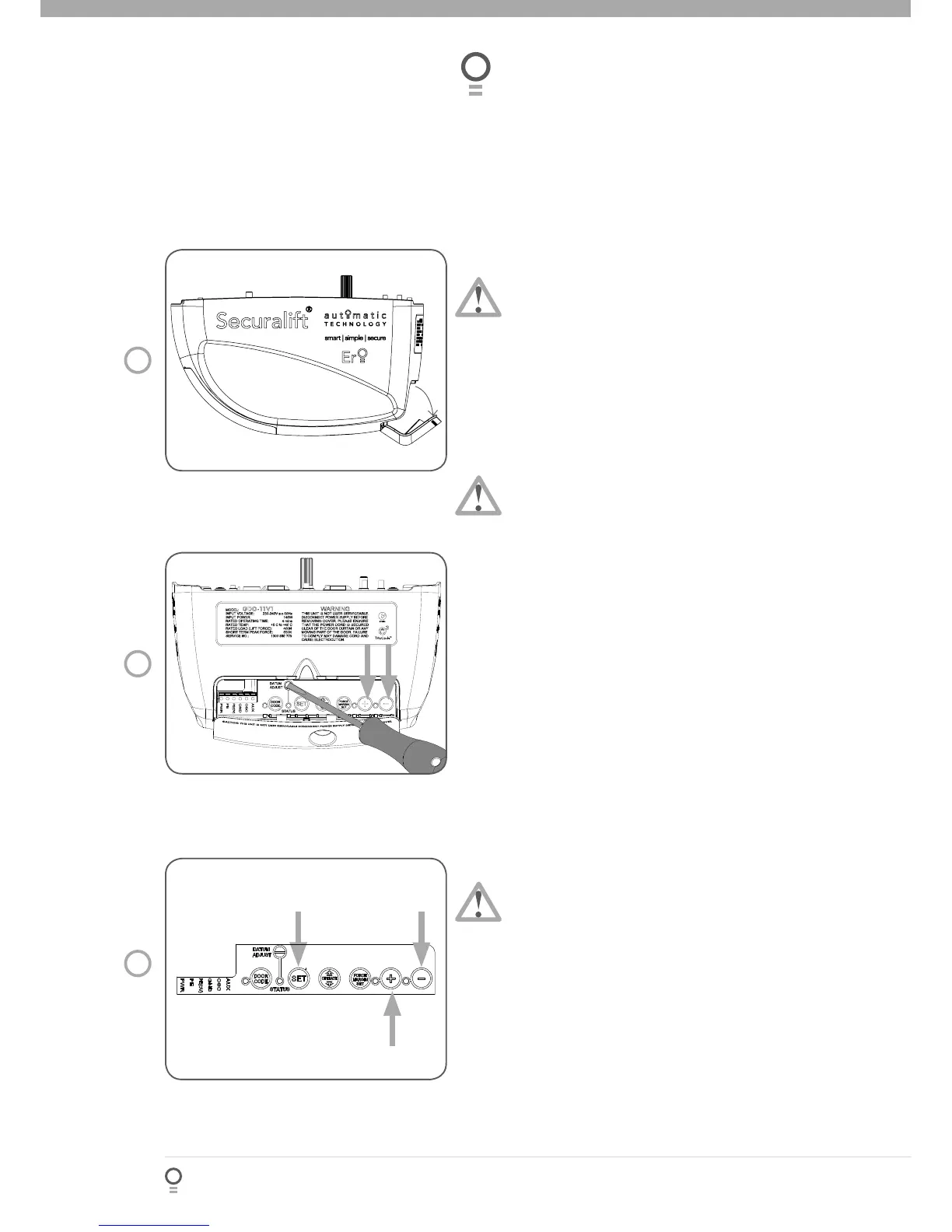
Step 14.1 - Remove Controls Cover
Swing open the controls cover to gain the access to
the controls panel (Fig. 28) and swing back into its
position when setup is completed.
Step 14.2 - Connect Power to the Drive unit
Plug the power cord into a mains point and switch
power on. The red CLOSE LIMIT LED will be
ashing.
WARNING: The safety obstruction detection
system is inoperable while MINUS (-) and PLUS (+)
drive buttons are being used and travel limits are
not set.
Step 14.3 - Set the Datum Position
Press and hold the MINUS (-) or PLUS (+) buttons to
move the door to the halfway position. Ensure that
the door, shuttle and chain index are engaged.
Using a small screwdriver, turn the DATUM ADJUST
screw until the STATUS LED comes on (Fig 29).
NOTE: If the STATUS LED is already illuminated when
the door is halfway up, turn the DATUM ADJUST
screw until the light goes off, then turn back one
notch to illuminate again.
Step 14.4 - Set the Limits Positions
Press and hold the MINUS (-) button until the door
reaches the desired close limit position. Single
presses will inch the door closed (Fig 30).
Press the LIMIT SET button to store the close position
into memory (Fig. 30).
Press and hold the PLUS (+) button until the door
reaches the desired open limit position. Single
presses will inch the door open (Fig. 30).
IMPORTANT WARNING: The door will
automatically close, open and close again once
Step 14.4(d) is performed. Ensure that no persons
or objects are in the door’s path.
Press the SET button to store the close position into
memory (Fig. 30).
The door will now automatically close and open to
calculate the safety obstruction settings. After this, the
opener can be operated with the OPERATE button.
Step 14.5 - Resetting the Door Limit Positions
Limit positions can be deleted by the following steps:
Press and hold the MINUS (-) button for six (6)
seconds until you hear three beeps and the CLOSE
LIMIT LED starts to fl ash.
Release the CLOSE button.
Repeat Steps 14.1 to 14.4 to set new travel limit
positions.
a.
a.
b.
a.
b.
c.
d.
e.
a.
b.
c.

Related product manuals