EasyManua.ls Logo

AVANT CH100 - Ch100 Hydraulic Operation, Optional Equipment

AVANT CH100
48 pages
Print Icon
To Next Page IconTo Next Page
To Next Page IconTo Next Page
To Previous Page IconTo Previous Page
To Previous Page IconTo Previous Page
Loading...
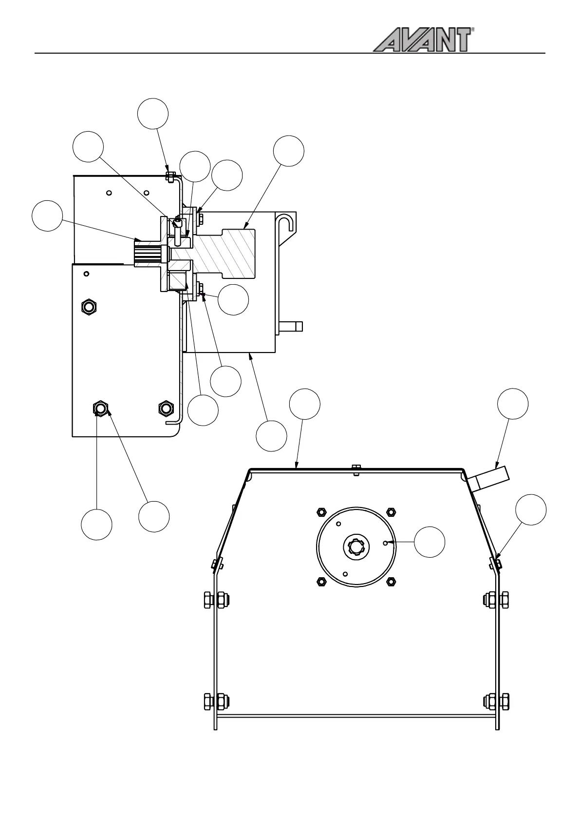
42
CH100
3
4
11
2
8
18
9
12
14
16
17
5
1
6
13
15
CH100 HYDRAULIC OPERATION