EasyManua.ls Logo

AVANT CH100 - Disc, Complete

AVANT CH100
48 pages
Print Icon
To Next Page IconTo Next Page
To Next Page IconTo Next Page
To Previous Page IconTo Previous Page
To Previous Page IconTo Previous Page
Loading...
36
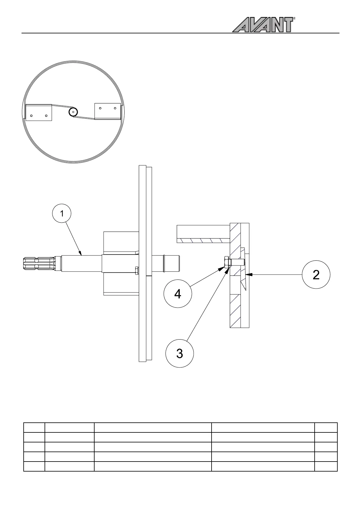
CH100
DISC, COMPLETE
FARMI 100F
34
Part Order no Description Remarks Qty
1 33620070 Disc 1
2 43620080 Knife 2
3 52214269 Lock washer M12 NORD-LOCK 4
4 52091839 Screw M12x30 DIN933 10.9ZN 4
DISC, COMPLETE