EasyManua.ls Logo

Axis Q8752-E - Vue Densemble du Produit

Axis Q8752-E
132 pages
Print Icon
To Next Page IconTo Next Page
To Next Page IconTo Next Page
To Previous Page IconTo Previous Page
To Previous Page IconTo Previous Page
Loading...
AXISQ8752-EBispectralPTZCamera
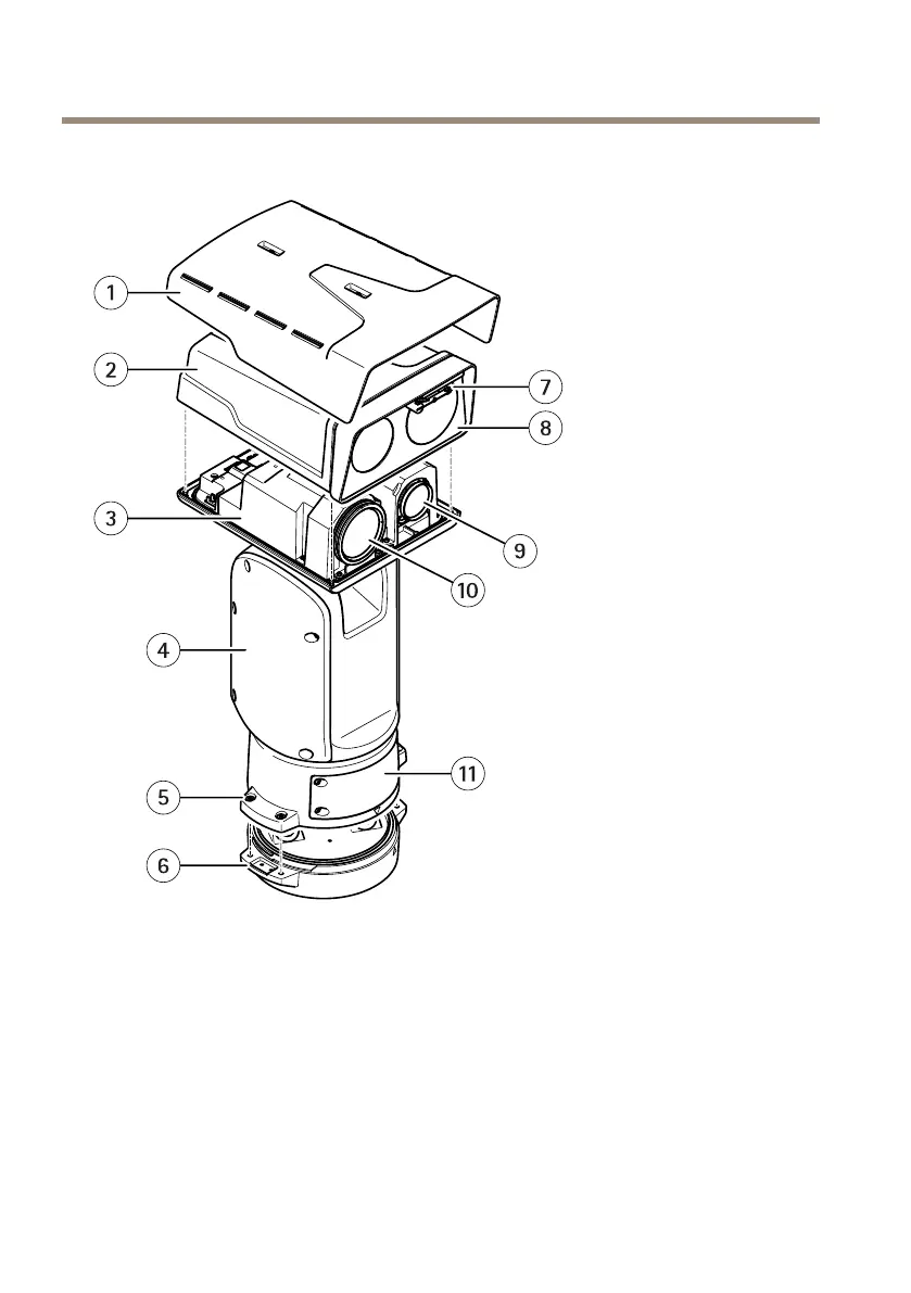
Vued'ensembleduproduit
1
Protectionétanche
2
Couverclesupérieur
3
Couvercleinterne
4
Unitédepositionnement
5
Visdel'unitédebase
6
Unitédebase
7
Essuyage
8
Avantavecfeuilledeprotection
9
Objectifvisuel
10
Objectifthermique
11
Opercule
26

Other manuals for Axis Q8752-E

Related product manuals