EasyManua.ls Logo

Axis Q8752-E - Información General del Producto

Axis Q8752-E
132 pages
Print Icon
To Next Page IconTo Next Page
To Next Page IconTo Next Page
To Previous Page IconTo Previous Page
To Previous Page IconTo Previous Page
Loading...
AXISQ8752-EBispectralPTZCamera
Informacióngeneraldelproducto
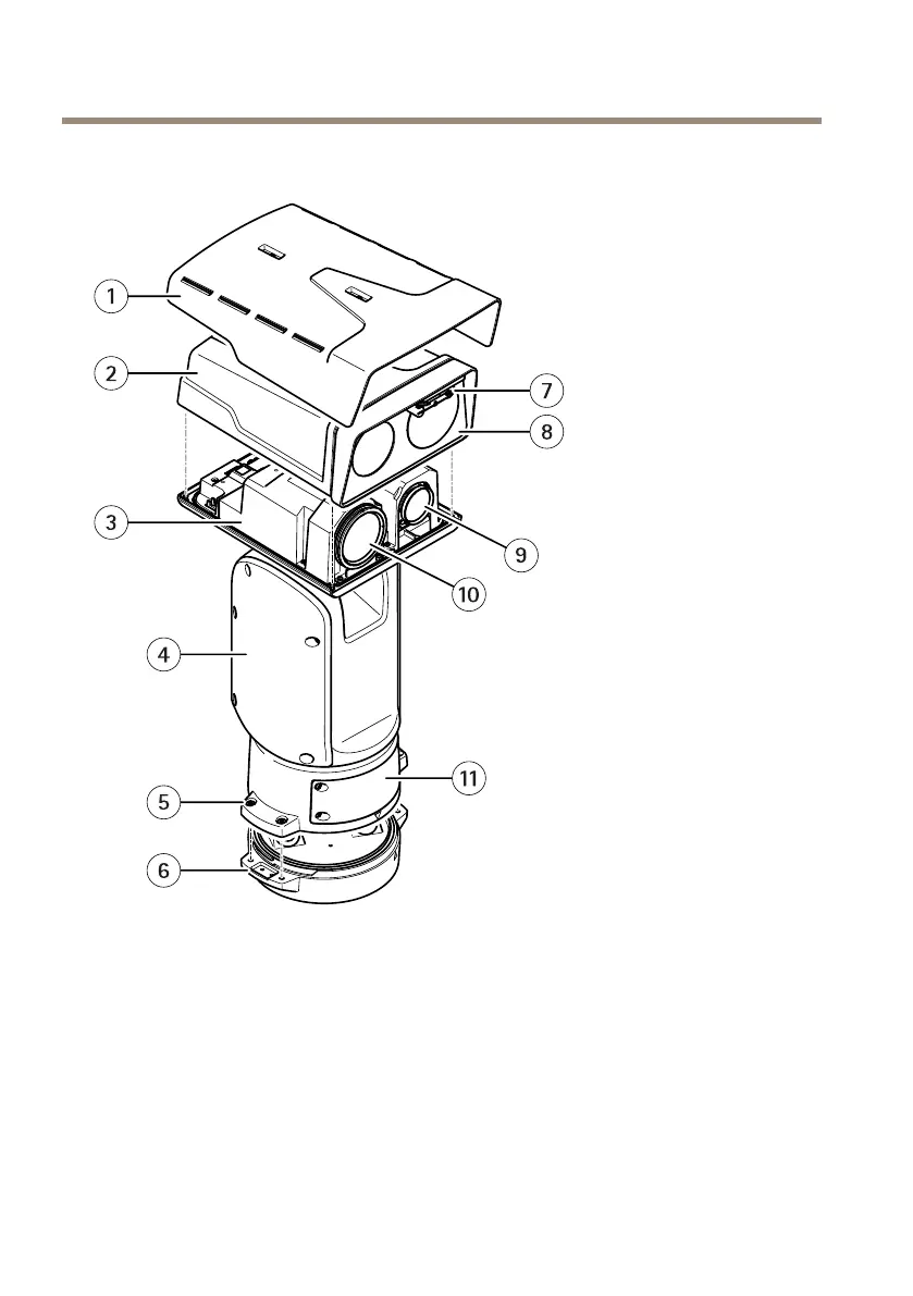
1
Parasol
2
Cubiertasuperior
3
Cubiertainterna
4
Unidaddeposicionamiento
5
Tornillosdeunidadbase
6
Unidadbase
7
Escobillalimpiadora
8
Partedelanteraconcubiertaprotectora
9
Objetivoparacámaravisual
10
Objetivoparacámaratérmica
11
Tapa
80

Other manuals for Axis Q8752-E

Related product manuals