EasyManua.ls Logo

Axis Q8752-E - Product Overview

Axis Q8752-E
132 pages
Print Icon
To Next Page IconTo Next Page
To Next Page IconTo Next Page
To Previous Page IconTo Previous Page
To Previous Page IconTo Previous Page
Loading...
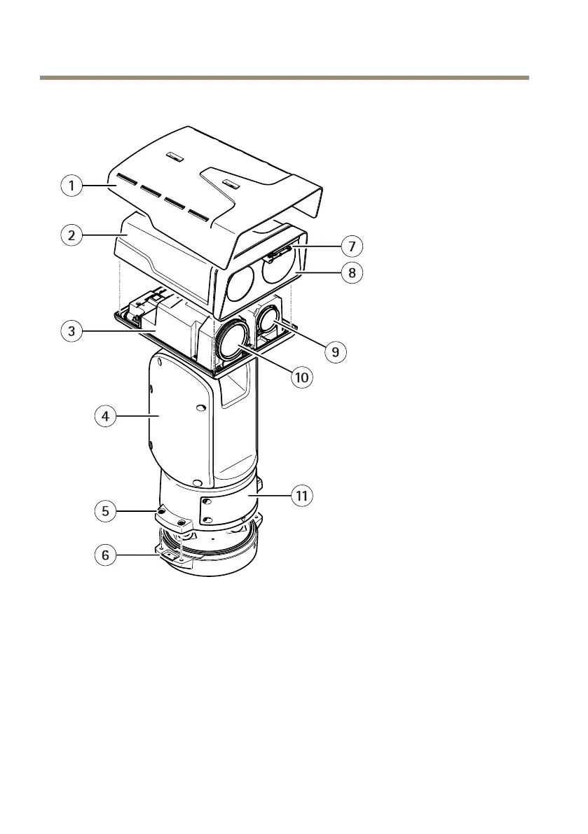
AXISQ8752-EBispectralPTZCamera
Productoverview
1
Weathershield
2
Topcover
3
Innercover
4
Positioningunit
5
Baseunitscrews
6
Baseunit
7
Wiper
8
Frontwithprotectivefoil
9
Visuallens
10
Thermallens
11
Lid
8

Other manuals for Axis Q8752-E

Related product manuals