EasyManua.ls Logo

Axis Q8752-E - Panoramica del Dispositivo

Axis Q8752-E
132 pages
Print Icon
To Next Page IconTo Next Page
To Next Page IconTo Next Page
To Previous Page IconTo Previous Page
To Previous Page IconTo Previous Page
Loading...
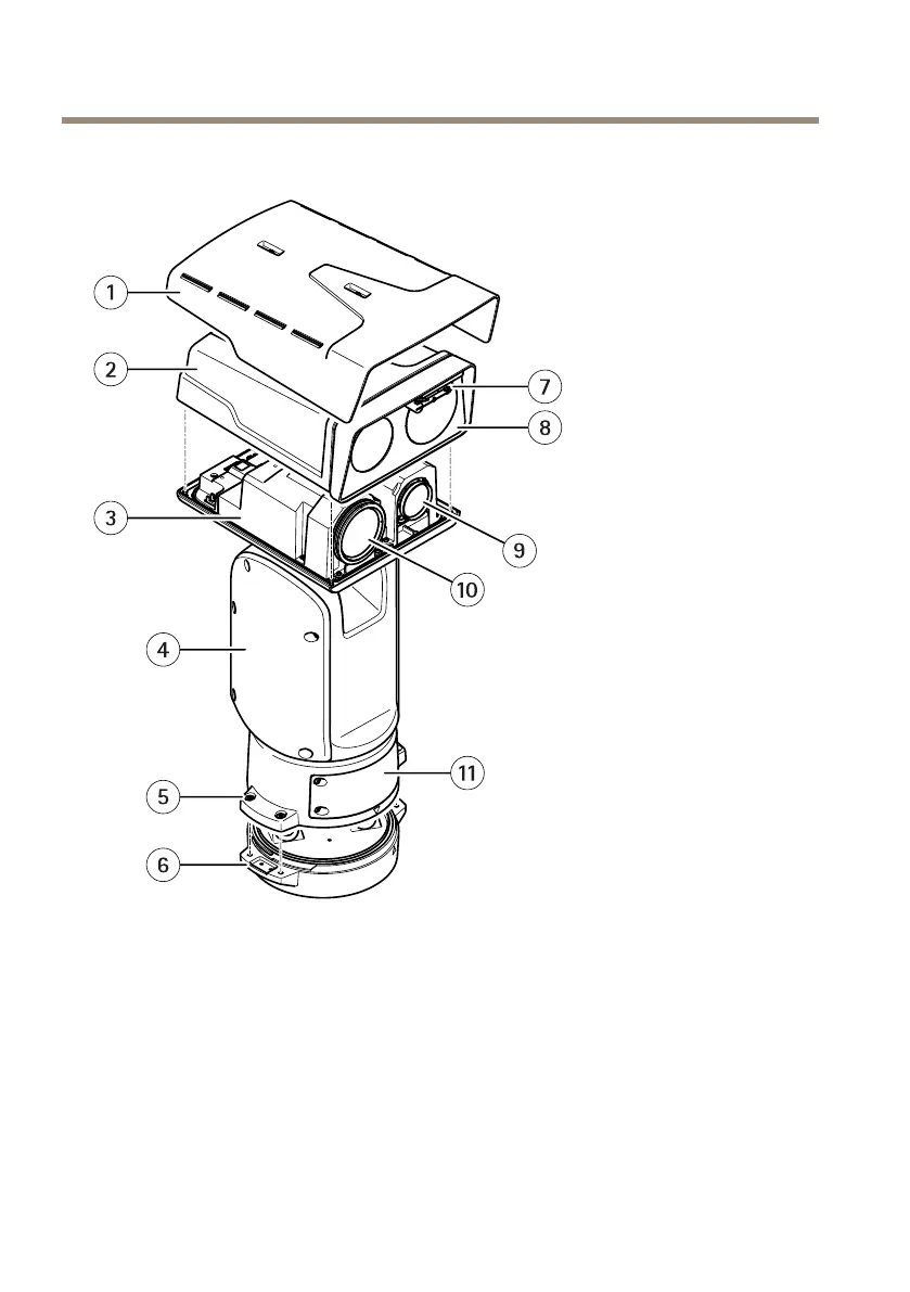
AXISQ8752-EBispectralPTZCamera
Panoramicadeldispositivo
1
Schermodiprotezionedagliagentiatmosferici
2
Coperturasuperiore
3
Coperturainterna
4
Unitàdiposizionamento
5
Vitidell'unitàbase
6
Unitàbase
7
Tergicristallo
8
Parteanterioreconlaminaprotettiva
9
Obiettivovisivo
10
Obiettivotermico
11
Coperchio
62

Other manuals for Axis Q8752-E

Related product manuals