EasyManua.ls Logo

Axis Q8752-E - Page 44

Axis Q8752-E
132 pages
Print Icon
To Next Page IconTo Next Page
To Next Page IconTo Next Page
To Previous Page IconTo Previous Page
To Previous Page IconTo Previous Page
Loading...
AXISQ8752-EBispectralPTZCamera
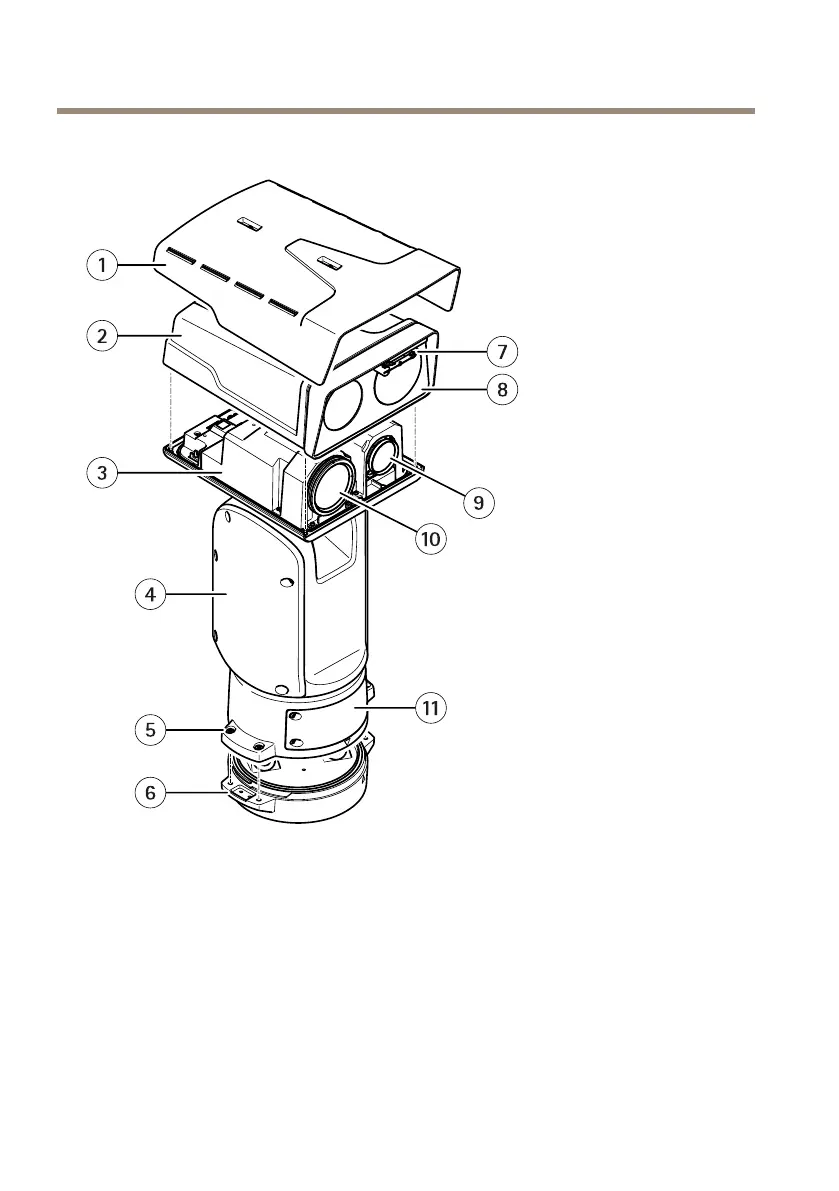
Produktübersicht
1
Wetterschutz
2
ObereAbdeckung
3
InnereAbdeckung
4
Positionierungseinheit
5
SchraubenderBasiseinheit
6
Basiseinheit
7
Wischer
8
FrontmitSchutzfolie
9
Lichtbildobjektiv
10
Wärmebildobjektiv
11
Deckel
44

Other manuals for Axis Q8752-E

Related product manuals