EasyManua.ls Logo

Basler Scout - Page 74

Basler Scout
300 pages
Print Icon
To Next Page IconTo Next Page
To Next Page IconTo Next Page
To Previous Page IconTo Previous Page
To Previous Page IconTo Previous Page
Loading...
Physical Interface
64 Basler scout
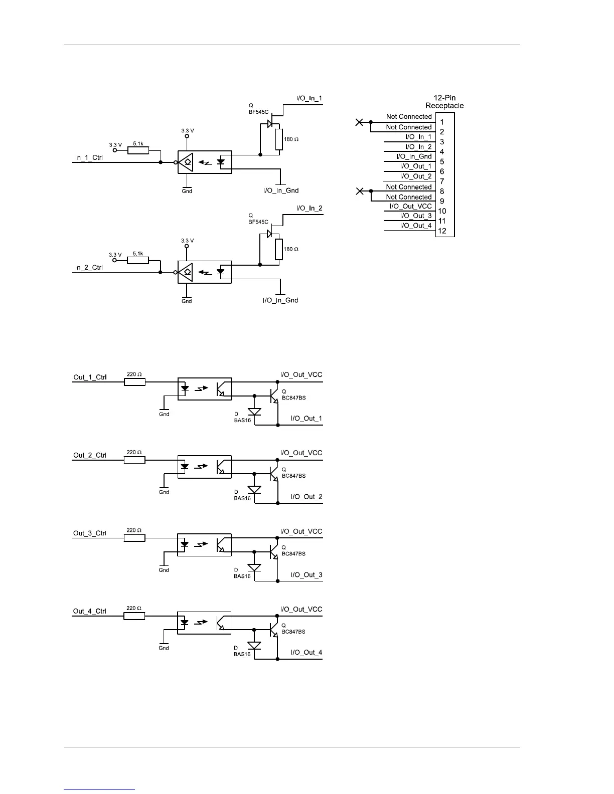
Fig. 39: I/O Line Schematic

Table of Contents

Related product manuals